Bằng sáng chế mới của Apple tiết lộ thiết bị di động có thiết kế màn hình uốn dẻo với các nút ẩn bên dưới bề mặt.

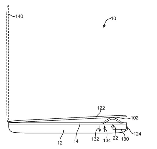
ình ảnh này cho thấy nút tăng tạm thời (22) có thể đẩy lên phía trên dưới màn hình (102) theo yêu cầu giống như nút Home trên iPhone.
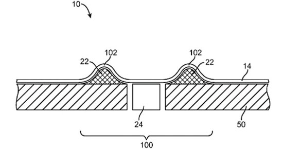
Nội dung bằng sáng chế mới được Văn phòng sáng chế và Thương hiệu Hoa Kì (USPTO) cung cấp cho thấy cách thức các nút và micro có thể ẩn dưới màn hình.
Với phương án đầu tiên, thiết bị di động trong tương lai sẽ được trang bị nút bấm vật lí - chẳng hạn như nút Home - nhúng dưới màn hình có thể uốn cong hoặc biến dạng, cho phép người sử dụng đẩy xuống.
Trong một phương án khác, màn hình có thể được đặt trên cơ cấu truyền động. Chúng sẽ nén hướng lên trên tạo ra các nút tạm thời theo yêu cầu từ bất cứ vị trí nào trên màn hình, dựa vào đó cung cấp thông tin phản hồi xúc giác.
Bằng cách ẩn các nút dưới màn hình, Apple có thể mở rộng kích thước màn hình iPhone hoặc iPad mà không làm cho các thiết bị lớn và cồng kềnh hơn. Công nghệ được mô tả trong bằng sáng chế có thể cho thấy các thiết bị di động tương lai của Apple sẽ có màn hình làm lộ các nút khi người dùng cần đến chúng.

Công nghệ này có thể được tích hợp vào trackpad của MacBook tạo ra các đường lằn (102) và làm cho MTXT tương lai mở dễ dàng hơn.
Bằng sáng chế cho thấy các chức năng này chủ yếu dành cho iPhone và iPad, cũng có thể được tích hợp vào trackpad của MacBook cho phép thiết kế MacBook trong tương lai sẽ được sắp xếp hợp lí hơn.
Học IT
Ứng dụng
Nhạc, phim, truyện online 









Công nghệ
Microsoft Word 2013
Microsoft Word 2007
Microsoft Excel 2019
Microsoft Excel 2016
Microsoft PowerPoint 2019
Google Sheets
Lập trình Scratch
Bootstrap
Hướng dẫn
Ô tô, Xe máy