Hôm 17/4 vừa qua, Apple đã đăng kí bản quyền hai ứng dụng mới tại Phòng bản quyền và thương hiệu Hoa Kì (USPTO) dành cho hệ thống mở khóa bằng thao tác ngón tay đối với thiết bị iPhone và iPad.
Hệ thống trên được dự đoán sẽ phức tạp hơn hệ thống mở khóa đang được sử dụng hiện nay với những lựa chọn về các loại mã khóa thậm chí còn khó mở hơn phương thức hiện đang được áp dụng trên các thiết bị Android.
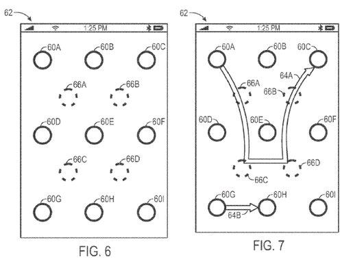
Bản quyền của Apple mô tả các thao tác khóa màn hình có thể được thay đổi bởi chính người sử dụng ở cả hai phương diện kích cỡ và vị trí. Thay đổi về kích cỡ khóa có thể khiến màn hình của người dùng dễ hoặc khó chạm vào hơn trong khi sắp xếp lại vị trí của các “điểm khóa” sẽ khiến người ngoài khó lòng bẻ khóa do hình dạng của khóa khó dự đoán hơn trước. Hệ thống trên cũng được tích hợp chức năng vô hình dành cho các điểm khóa và chỉ xuất hiện lần lượt khi người dùng thao tác đúng.

Sẽ có những điểm khóa ẩn và chỉ xuất hiện khi người dùng thao tác đúng
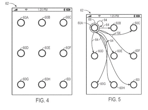
Mặt khác, Apple cũng bổ sung thêm các tính năng mới vào hệ thống mở khóa để tăng độ phức tạp như tốc độ di chuyển ngón tay, điểm dừng hay các yếu tố thời gian khác. Với những cải tiến này, cùng một thao tác mở khóa nhưng sẽ có hàng loạt cách mở với những biến thể khác nhau và mỗi biến thể chỉ có một cách duy nhất để mở.
Không những vậy, hệ thống cũng hỗ trợ phương thức sử dụng nhiều ngón tay cùng một lúc và bổ sung thêm chức năng đo độ an toàn của mã. Không giống như thước đo đối với mã kí tự hay con số như chúng ta sử dụng hiện nay, hệ thống đo lường của Apple sẽ xếp hạng cao hay thấp dựa trên độ dài, độ phức tạp, tính ngẫu nhiên của mã bên cạnh các yếu tố khác nữa.

Khả năng đánh giá mức độ an toàn của mất khẩu sẽ dựa trên độ phức tạp, tính ngẫu nhiên,...
Hiện tại, Apple vẫn chưa có ý định xây dựng hệ thống trên cho bất kì thiết bị nào của mình trong tương lai gần bởi nó có nhiều nét tương đồng so với phương thức mở khóa hiện nay của Android. Tuy nhiên, đây cũng được xem như một dấu hiệu cho thấy Táo khuyết đang tìm một hướng đi mới trong công nghệ bảo mật khi hãng không chỉ sử dụng chữ và số đơn thuần như thường lệ, đặc biệt điều này diễn ra trong bối cảnh các sản phẩm công nghệ tương lai sẽ cần những phương thức bảo mật phức tạp hơn để tránh khả năng bị xâm nhập từ các hacker hoặc người ngoài.
Học IT
Ứng dụng
Nhạc, phim, truyện online 









Công nghệ
Microsoft Word 2013
Microsoft Word 2007
Microsoft Excel 2019
Microsoft Excel 2016
Microsoft PowerPoint 2019
Google Sheets
Lập trình Scratch
Bootstrap
Hướng dẫn
Ô tô, Xe máy