Apple mới đây đã được cấp bằng sáng chế về việc tích hợp tính năng cảm ứng vào viền của các thiết bị có màn hình nhỏ. Bản quyền này mô tả một thiết bị di động có các viền bao phủ một phần màn hình cảm ứng.
Tất nhiên là các viền này cũng có khả năng nhận biết thao tác chạm của người dùng. Khi cảm biến nhúng trong thiết bị phát hiện ra một ngón tay đến gần hoặc chạm vào máy, tín hiệu từ bộ điều khiển sẽ ra lệnh cho phần màn hình bị che phủ sáng lên, từ đó thay đổi bề ngoài của viền.

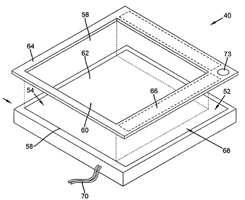
Hình mô phỏng cho bản quyền của Apple. Số 62 là màn hình chính, số 73 là cảm biến nhúng, số 68 là phần màn hình phụ bị che bởi viền, số 66 là phần viền có khả năng cảm ứng.
Phần viền này có thể chỉ đơn giản đổi màu hoặc thực hiện các thao tác phức tạp hơn như chuyển từ dạng mờ đục sang trong suốt. Nói cách khác, khi chúng ta không dùng đến phần màn hình phụ, nó sẽ biến mất, còn khi cần thì nó sẽ hiện ra.
Bên cạnh đó, bản quyền còn đề cập đến việc hiển thị chữ hoặc các đối tượng đồ họa ở phần màn hình bị che phủ. Khi kết hợp với khả năng cảm ứng của viền, nó có thể tạo thành một phương thức nhập liệu mới. Điều thú vị là bằng sáng chế nói trên của Apple có nhắc đến một bản quyền nói về "viền thiết bị có khả năng tương tác" do Apple mua lại từ Kodak trong thương vụ mới đây.
Apple không đề cập đến ứng dụng của bản quyền này, tuy nhiên chúng ta có thể dự đoán nó sẽ được dùng trong các thiết bị có thể đeo được, như một chiếc smartwatch chẳng hạn.
Với một màn hình có kích thước hiển thị hạn chế (để đeo vào tay), việc mở rộng không gian hiển thị và nhập liệu ra tận viền thiết bị là điều hợp lý. Mới đây Apple cũng đã đăng ký thương hiệu "iWatch" tại Nhật.
Học IT










Công nghệ
Microsoft Word 2013
Microsoft Word 2007
Microsoft Excel 2019
Microsoft Excel 2016
Microsoft PowerPoint 2019
Google Sheets
Lập trình Scratch
Bootstrap
Hướng dẫn
Ô tô, Xe máy