Sự kiện mới đây của Microsoft bỗng trở nên sinh động hơn gấp bội bởi sự ra mắt khá bất ngờ của HoloLens, một chiếc kính thực tại ảo chạy trên nền hệ điều hành hoàn toàn mới mang tên Windows Holographic. Những phản ứng ban đầu về HoloLens là rất tích cực.

Biên tập viên Matt Rosoff của trang Business Insider đã có cơ hội thử thiết bị này, sau đó anh chia sẻ "máy tính cá nhân đang đứng trước một sự thay đổi quan trọng", anh cũng dự đoán rằng những màn hình gắn trên đầu như thế này sẽ "là một bước tiến lớn so với máy tính màn hình phẳng mà tất cả chúng ta sử dụng trong vòng 30 năm qua".
Nói ngắn gọn, có vẻ như các thiết bị tăng cường thực tại chính là "next big thing" trong thị trường công nghệ. Tính tới thời điểm này, Microsoft, Google, Facebook, Samsung và những hãng công nghệ khác đã đầu tư hàng trăm triệu đô, thậm chí hàng tỷ đô, vào các trải nghiệm thực tại ảo và tăng cường thực tại này.
Trong khi đó Apple vẫn án binh bất động

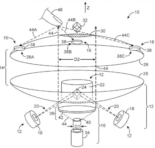
Tháng sáu năm ngoái, bằng sáng chế của Apple về hệ thống "hình ảnh ba chiều tương tác" đã được tiết lộ. Đây là một hệ thống mà nhiều người muốn trở thành hiện thực. Đệ trình vào tháng 10/2012, nhưng tới tháng 4/2014 bằng sáng chế này mới được phê duyệt. Hệ thống này của Apple cho phép người dùng tương tác với các hình ảnh được chiếu, xuất hiện lơ lửng giữa không trung, thậm chí hệ thống còn cho phép người dùng kiểm soát và thao tác với các đối tượng ảo này bằng cách vuốt và các cử chỉ thường dùng với iOS.
Vẫn chưa quá muộn nếu Apple sử dụng bằng sáng chế này. Và Apple nên sử dụng bằng sáng chế này càng sớm càng tốt.
Mảng kinh doanh iPhone của Apple có quy mô lớn hơn so với hầu hết các doanh nghiệp nói chung, thậm chí còn lớn hơn GDP của hầu hết các quốc gia, nhưng nếu Tim Cook và Apple không tham gia thúc đẩy thực tại ảo và tăng cường thực hại, họ có thể bỏ lỡ thị trường "máy tính cá nhân" tiếp theo.
Phần cứng và phần mềm hoạt động liền mạch với nhau
Mọi người đều tin rằng thực tại ảo chính là next big thing. Thomas Tull, CEO của Legendary Pictures đã rất phấn khích khi có cơ hội dùng thử Magic Leap, một thiết bị đến từ hãng khởi nghiệp đã thu hút được 542 triệu USD đầu tư từ những công ty như Google. Magic Leap là một thiết bị "điêu khắc 3D bằng ánh sáng" kết hợp giữa phần cứng và phần mềm độc quyền.
Tull chia sẻ rằng "thật tuyệt vời, không thể tin được. Đây là một trong số ít những điều tôi được trải nghiệm trong cuộc đời mình khiến tôi phải ngạc nhiên và thốt lên. Nó thay đổi mọi thứ. Nó là một dấu hiệu của tương lai".
Những trải nghiệm mà HoloLens của Microsoft và Magic Leap cung cấp sẽ sớm trở thành những công cụ vô giá, con người sẽ không thể sống thiếu chúng.
Trong thời gian ngắn thử nghiệm HoloLens, Matt Rosoff đã học được cách thiết lập một công tắc đèn dưới sự hướng dẫn của một chuyên gia. Những gì cần làm được chuyên gia hướng dẫn qua tai nghe và qua những hình ảnh vẽ trực tiếp lên những đối tượng thực.

Sự kiện mới đây của Microsoft bỗng trở nên sinh động bởi sự ra mắt khá bất ngờ của HoloLens, một thiết bị phần cứng mới chạy trên Windows Holographic, một nền tảng mới của Microsoft cho những trải nghiệm thực tại ảo và tăng cường thực tại. Những phản ứng ban đầu về HoloLens là rất tích cực.
Rosoff cũng có thể chơi game "Minecraft" ngay trong phòng khách và thậm chí có thể ghé thăm sao Hỏa một thời gian ngắn.
Hiện tại, ba trải nghiệm trên là những thứ mà smartphone và không một thiết bị nào hiện nay có thể cung cấp. Vẽ các yếu tố ảo để người khác nhận ra hoặc biến phòng khách trở thành một địa điểm trong một trò chơi hay sao Hỏa là những điều mà chúng ta chỉ dám mơ ước hoặc chỉ thấy trong phim.
Ngay từ những ngày đầu của máy tính Macintosh, Apple luôn tin tường vào việc tạo ra phần cứng và phần mềm đồng thời nhằm cung cấp "những trải nghiệm ma thuật" giúp mọi người làm việc và đạt được những mục đích của họ. Thẳng thắn mà nói, rất điên rồ nếu Apple bỏ qua xu hướng này.
May mắn thay, Apple vẫn còn thời gian. Tất cả các thiết bị thực tại ảo và tăng cường thực tại hiện tại từ Microsoft, Magic Leap và Oculus vẫn mới đang trong giai đoạn thử nghiệm.

Sự kiện mới đây của Microsoft bỗng trở nên sinh động bởi sự ra mắt khá bất ngờ của HoloLens, một thiết bị phần cứng mới chạy trên Windows Holographic, một nền tảng mới của Microsoft cho những trải nghiệm thực tại ảo và tăng cường thực tại. Những phản ứng ban đầu về HoloLens là rất tích cực.
Apple còn rất nhiều cơ hội bởi hãng này thường ra mắt những thiết bị đẳng cấp, đáng tin cậy, thời trang và trực quan cho mọi người, từ già tới trẻ, đều có thể sử dụng. Thêm nữa, Apple Watch đã chứng minh rằng Apple biết cách tạo ra các thiết bị đeo thông minh hấp dẫn và mang lại sự thoải mái cho người dùng.
Trong lịch sử phát triển của mình, Apple thường không phải là hãng "đầu tiên", nhưng lại là hãng luôn cho ra mắt những thiết bị tốt nhất. Vẫn còn đủ thời gian để Apple tạo ra một thiết bị thực tại ảo ấn tượng cùng các ứng dụng tuyệt vời đi kèm với nó.
Học IT










Công nghệ
Microsoft Word 2013
Microsoft Word 2007
Microsoft Excel 2019
Microsoft Excel 2016
Microsoft PowerPoint 2019
Google Sheets
Lập trình Scratch
Bootstrap
Hướng dẫn
Ô tô, Xe máy