Một ứng dụng bằng sáng chế gần đây được Google đệ trình cho thấy gã khổng lồ tìm kiếm có vẻ như đang thử nghiệm công nghệ màn hình gập, tương tự như các tấm nền được sử dụng trên những thiết bị đình đám mới được ra mắt tại CES 2019 như Huawei Mate X và Samsung Galaxy Fold. Cụ thể hơn, theo trang tin công nghệ Patently Mobile thì về cơ bản, bằng sáng chế này đề cập đến phương pháp thiết kế và chế tạo một tấm nền OLED có thể uốn cong nhiều lần và nhiều khả năng sẽ được sử dụng trong các “thiết bị máy tính hiện đại”.

Điều thú vị nằm ở chỗ Google vốn không được biết đến nhiều trong vai trò một nhà sản xuất phần cứng, họ thậm chí còn chưa từng sở hữu tấm nền màn hình nào cho chính mình nghiên cứu và sản xuất, mặc dù đã cho ra mắt khá nhiều mẫu điện thoại thông minh dưới thương hiệu Google Nexus và bây giờ là Google Pixel. Giống như Apple với dòng sản phẩm iPhone đình đám, Google thường “khoán” hẳn khâu sản xuất thiết bị phần cứng nói chung và smartphone của mình nói riêng cho một nhà sản xuất khác, có thể kể đến như Motorola, LG (Nexus), HTC (Pixel 2) và Foxconn (Pixel 3), còn mình thì chỉ chịu trách nhiệm trong khâu thiết kế, phần mềm, và giám sát chất lượng. Tất nhiên điều đó không có nghĩa là Google không đủ năng lực sản xuất phần cứng. Có lẽ họ nhận thấy rằng việc ký hợp đồng gia công với bên thứ 3 sẽ mang lại nhiều lợi ích về mặt kinh tế hơn so với việc đầu tư xây dựng hệ thống dây chuyền sản xuất, và nhiều khả năng mẫu màn hình gập mới này cũng sẽ không nằm ngoài triết lý kinh doanh đó.

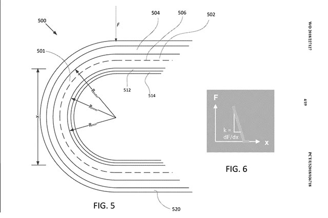
Quay trở lại với bằng sáng chế mới của Google, nhìn vào những hình vẽ trong bản thiết kế thì có thể tưởng tượng ra rằng đây là một tấm nền có thể được gập cong ở 2 điểm khác nhau (Z-fold display) mà không bị nứt vỡ, có vẻ như là nhờ vào các lớp mỏng được phủ lên bề mặt trong quá trình sản xuất. Tất nhiên đây chỉ là dự đoán dựa trên cảm tình, chúng ta sẽ phải cần đến một chuyên gia về màn hình để hiểu rõ được bản thiết kế này.



Không chắc liệu Google đã từng bao giờ phát triển một thứ như vậy trước đây hay chưa, hoặc tại sao họ lại chọn thiết kế màn hình gập theo kiểu ziz zac (Z-Fold) như vậy, nhưng tính đến thời điểm hiện tại thì độ bền của những chiếc điện thoại màn hình gấp chắc chắn vẫn là một câu hỏi mở chưa lời giải đáp. Samsung Galaxy Fold được cho chịu được hàng trăm ngàn lần gấp mở, trong khi đó nhà sản xuất Gorilla Glass Corning cũng đang phát triển một màn hình thủy tinh có thể gập lại để bảo vệ cho các thiết bị màn hình gập với hy vọng nó sẽ bền hơn các giải pháp từ nhựa hiện có.
Bên cạnh đó, cũng có một điều quan trọng cần phải nhắc tới ở đây đó là bằng sáng chế mới của Google thậm chí còn không đề cập đến 2 từ "điện thoại", mà thay vào đó, họ tập trung nói đến cách thức mà chiếc màn hình có thể được sử dụng trên các thiết bị máy tính hiện đại ra sao. Từ chi tiết này chúng ta có thể “mạnh dạn” dự đoán rằng Google chắc chắn sẽ tham gia vào thị trường thiết bị màn hình gập, nhưng rất có thể là trên các sản phẩm máy tính xách tay hay thậm chí là máy tính bảng, chứ không phải là điện thoại thông minh vốn đang rất sôi động.

Cho đến thời điểm hiện tại, mối quan tâm duy nhất của Google đối với những chiếc smartphone màn hình gập chỉ dừng lại ở việc tập trung phát triển các ứng dụng, phần mềm, và đặc biệt là nền tảng hệ điều hành Android của mình sao cho có thể tương thích tốt nhất với các thiết bị này. Trên thực tế, Google đã phát triển thêm khá nhiều tính năng hỗ trợ cho màn hình gập trên Android. Vào tháng 11 năm ngoái, hãng cũng đã làm việc với Samsung để đảm bảo rằng Android sẽ hoạt động mượt mà trên Galaxy Fold. Rõ ràng là màn hình gập có sự ảnh hưởng rất lớn đến tương lai của thế giới các thiết bị di động, và Google dường như đang quan tâm đến cả phần cứng cũng như phần mềm hỗ trợ cho công nghệ này.
Học IT










Công nghệ
Microsoft Word 2013
Microsoft Word 2007
Microsoft Excel 2019
Microsoft Excel 2016
Microsoft PowerPoint 2019
Google Sheets
Lập trình Scratch
Bootstrap
Hướng dẫn
Ô tô, Xe máy