Apple vừa mới nhận được thêm bằng sáng chế hiển thị thông báo lên trên Smart Cover ngay cả khi màn hình iPad của người dùng bị che khuất bởi lớp vỏ bảo vệ. Hồ sơ chi tiết của bằng sáng chế cho thấy thông báo nhanh được hiển thị trực tiếp trên Smart Cover thông qua hệ thống đèn LED hoặc màn hình phát quang.

Đồng thời cũng có 1 phiên bản Smart Cover khác cho phép hiển thị thông báo gián tiếp bằng ánh sáng từ màn hình xuyên qua lớp vỏ mờ hoặc một khu vực trog suốt trên lớp vỏ bảo vệ.
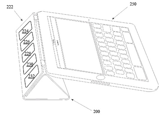
Theo các văn bản từ bằng sáng chế, phiên bản Smart Cover trực tiếp sẽ phát sáng các biểu tượng tích hợp sẵn trên bề mặt. Theo đó, biểu tượng phong bì sẽ sáng lên khi có email, một hộp thoại tin nhắn hiện lên khi nhận được tin nhắn văn bản,... Các thông báo trên có thể được bố trí trên bề mặt vỏ bảo vệ theo thứ tự ưu tiên hoặc theo các màu sắc khác nhau tùy thuộc vào mức độ quan trọng của thông báo.

So với phiên bản trực tiếp, phiên bản gián tiếp với các khu vực bán trong suốt có thể hiển thị các thông báo một cách linh hoạt hơn do sử dụng chính màn hình của iPad để hiển thị. Hơn nữa, việc hiển thị thông tin trực tiếp từ màn hình cho phép biết được các nội dung tin nhắn, thông tin lịch,... mà không cần phải mở Smart Cover ra.
Do tự động phát sáng các biểu tượng nên phiên bản Smart Cover phiên bản trực tiếp yêu cầu một nguồn cung cấp năng lượng. Theo nội dung bằng sáng chế cũng đã diễn tả 2 phương pháp sạc pin: Phương pháp đầu tiên là dùng nam châm kết nối Smart Cover và iPad để cung cấp năng lượng tương tự như sạc MagSafe trên Macbook.
Phương pháp thứ 2 là Smart Cover sẽ sử dụng phương pháp sạc không dây để nhận năng lượng từ nguồn bên ngoài hoặc thậm chí là từ chính iPad. Đối với phiên bản Smart Cover gián tiếp không cần sử dụng pin mà vẫn có thể hoạt động bình thường.

Ngoài việc bổ sung thêm chức năng hiển thị thông báo, ngoài ra các thiết kế khác trên Smart Cover vẫn được Apple giữ lại như các phiên bản trước đây. Cho tới hiện tại, Smart Cover vẫn là một phụ kiện phổ biến với phần lớn người dùng iPad. Do đó, việc bổ sung thêm chức năng hiển thị thông báo trên bề mặt kèm với âm thanh là một bước đi đúng đắn của Apple và thật sự khá hữu ích đối với người dùng.
Tuy nhiên, cho tới hiện tại vẫn chưa có thêm thông tin về việc Apple sẽ chính thức mang các sản phẩm trên ra thị trường. Hơn nữa, việc làm này sẽ khiến chi phí sản xuất Smart Cover tăng lên và có phần không phù hợp với quan điểm nhất quán của Apple từ trước đến nay.
Học IT










Công nghệ
Microsoft Word 2013
Microsoft Word 2007
Microsoft Excel 2019
Microsoft Excel 2016
Microsoft PowerPoint 2019
Google Sheets
Lập trình Scratch
Bootstrap
Hướng dẫn
Ô tô, Xe máy