Gần đây, đã có rất nhiều tin đồn về việc Apple sẽ sản xuất một chiếc iPhone gập, cụ thể là một chiếc điện thoại nắp gập kiểu vỏ sò. Điều này chắc chắn sẽ mang lại nhiều ý nghĩa, giúp Apple bắt kịp các đối thủ khác như Huawei, Samsung và Motorola.
Nhưng khi nào thì chúng ta mới có thể thấy một chiếc iPhone gập? Nó sẽ trông như thế nào? Hãy xem mọi thứ đã biết về chiếc iPhone gập cho đến thời điểm hiện tại.
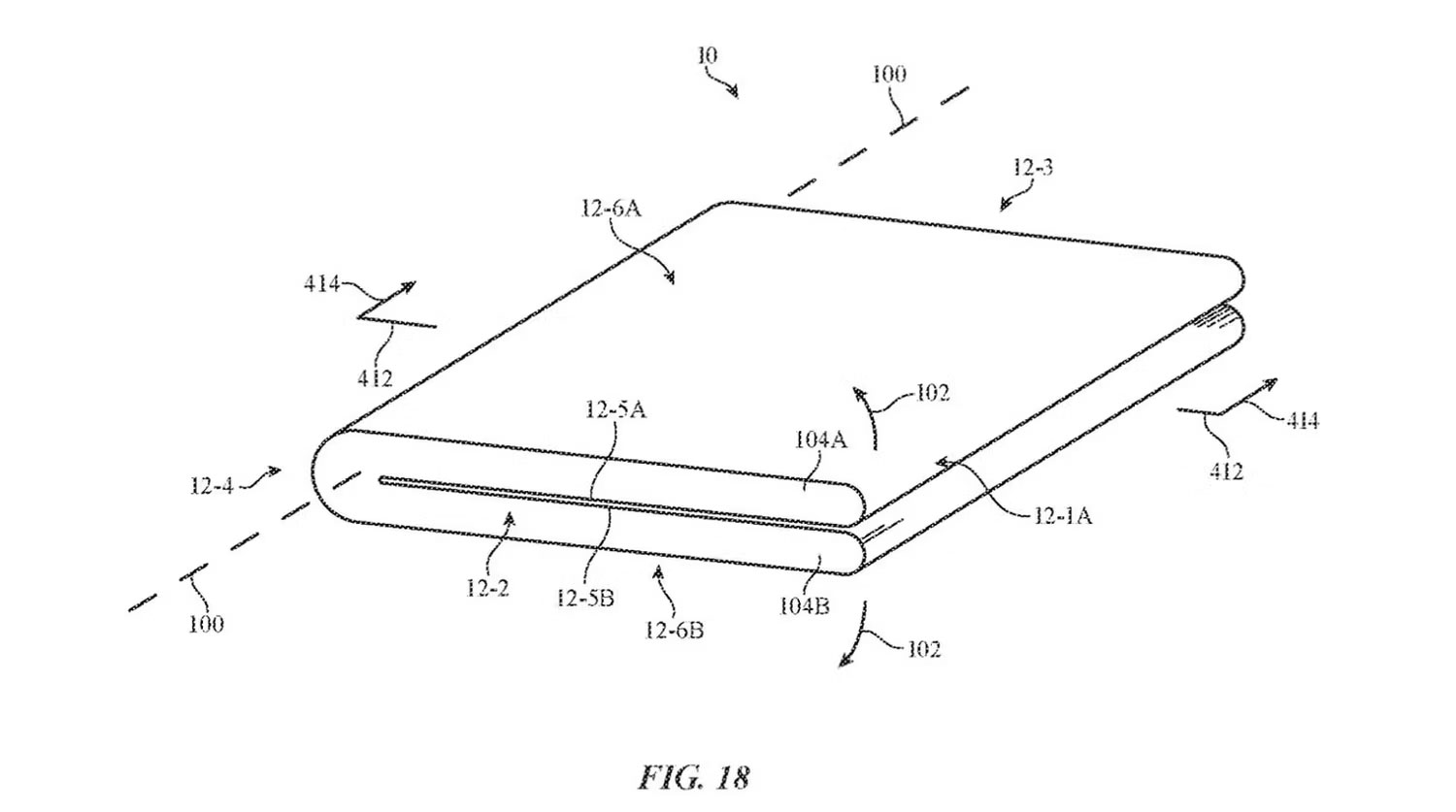
Apple nắm giữ nhiều bằng sáng chế iPhone gập
Hãy bắt đầu với một điều mà chúng ta thực sự biết chắc chắn – Apple nắm giữ nhiều bằng sáng chế cho iPhone gập. Cụ thể, Apple đã nắm giữ bằng sáng chế USPTO cho chiếc iPhone gập với màn hình ngoài.
Một bằng sáng chế từ năm 2016 mô tả chi tiết một chiếc iPhone có thể gập đôi theo chiều ngang, sử dụng màn hình OLED dẻo và bản lề kim loại. Cả hai nửa của màn hình vẫn có thể truy cập được khi tắt điện thoại. Một bằng sáng chế khác của Apple mô tả hai màn hình được kết nối bằng nam châm có thể được sử dụng chung.
Điều này cho thấy Apple đang phát triển cả điện thoại nắp gập kiểu vỏ sò như Galaxy Z Flip và một thiết bị lớn hơn như Galaxy Fold.
Hơn nữa, một bằng sáng chế khác của Apple cho thấy hoạt động trên lớp màn hình bảo vệ dành cho iPhone gập, lớp này sẽ chống nứt. Theo bằng sáng chế này, iPhone sẽ có một lớp cứng có thể lấp đầy các vết nứt nhỏ hiện có để ngăn vết nứt lớn hơn xuất hiện.

Có rất nhiều bằng sáng chế khác cho điện thoại gập của Apple. Thậm chí có những bằng sáng chế khám phá cách Touch ID có thể quay trở lại iPhone gập. Rõ ràng đây là điều mà Apple đang tích cực tiến hành.
Một dấu hiệu tích cực với các bằng sáng chế này là nhiều nhà phân tích của Apple đã được thông báo rằng những thiết bị nguyên mẫu đang được thử nghiệm. Jon Prosser, giải thích rằng các vỏ nguyên mẫu đang được thử nghiệm, trong một tập của Front Page Tech. Ming-Chi Kuo có kích thước màn hình dự kiến chi tiết, còn Ross Young và Mark Gurman đã nói về thiết bị đang được thử nghiệm.
Điều cần lưu ý là nhiều bằng sáng chế sẽ không bao giờ thành hiện thực. Bằng sáng chế chỉ xác nhận rằng công ty đang làm việc trên một sản phẩm chứ không phải đồng nghĩa sản phẩm đó sẽ thực sự được tung ra thị trường.
Một chiếc iPhone gập sẽ lớn như thế nào?
Báo cáo từ nhà phân tích Ming-Chi Kuo, với tỷ lệ chính xác 75% trên AppleTrack, giải thích rằng iPhone gập sẽ có màn hình 8 inch. Ngoài ra, cũng có một màn hình 9 inch đang được thử nghiệm.
Màn hình 8 inch sẽ lớn hơn iPad mini hiện tại (là một trong những thiết bị tốt nhất mà Apple sản xuất) hoặc Galaxy Fold. Nó phù hợp với các báo cáo gần đây hơn từ Ben Wood rằng Apple sẽ phát hành một chiếc iPad gập trước.

Từ những báo cáo này, có vẻ như Apple đang phát triển sản phẩm cạnh tranh với Galaxy Fold trước, trước khi chuyển sang điện thoại gập. Một màn hình 8 inch sẽ phải có yếu tố hình thức kiểu Galaxy Fold, do vấn đề kích thước. Ngoài ra, việc không có thông tin rò rỉ xung quanh kích thước của chiếc iPhone gập dạng vỏ sò cho thấy nó có thể sẽ ra mắt sau. Như mọi khi, thông tin này vẫn chưa được Apple lên tiếng xác nhận hay phủ nhận.
iPhone gập có thể có những tính năng gì?
Hãy bắt đầu với màn hình. Dựa trên các bằng sáng chế của Apple, có vẻ như iPhone gập sẽ đi kèm với màn hình OLED. Điều đó không có gì lạ đối với Apple, nhưng thật tuyệt khi được xác nhận.
Apple đã giới thiệu màn hình 120Hz trên dòng iPhone 13, với công nghệ màn hình ProMotion. Vì vậy, sẽ rất hợp lý khi chuẩn 120Hz xuất hiện trên màn hình gập. Cả hai thiết bị Galaxy Fold và Flip của Samsung đều có màn hình 120Hz, vì vậy điều này hoàn toàn là có thể. Có tin đồn về màn hình e-ink từ Ming-Chi Kuo cho màn hình ngoài, nhưng điều này có vẻ ít khả năng xảy ra.

Khi nói đến camera, chúng ta có thể thấy những nâng cấp tương tự. Thông thường, các rò rỉ đề cập cụ thể đến những thay đổi đối với camera của iPhone. Có vẻ như một chiếc iPhone màn hình gập cao cấp sẽ có 3 camera và cảm biến LiDAR, giống như những chiếc iPhone Pro hiện tại.
iPhone gập có thể giới thiệu lại Touch ID. Touch ID được cho rằng có thể quay trở lại iPhone trong nhiều năm qua, nhưng tới giờ vẫn chưa có gì xảy ra. Có lẽ chiếc iPhone gập sẽ là một thiết bị phù hợp hơn để giới thiệu lại Touch ID, với màn hình gập cấm cảm biến Face ID trong phần notch. Vẫn còn một cuộc tranh luận về phương pháp nào an toàn hơn, do đó, bao gồm cả Touch ID và Face ID sẽ là lựa chọn tốt nhất.
Không có thông tin gì về các tính năng khác. Nhiều tính năng khác có thể sẽ đi kèm với bản cập nhật phần mềm iOS trong năm đó.
Giá của iPhone gập sẽ là bao nhiêu?
Giá của iPhone gập không phải là yếu tố dễ dự đoán. Có rất nhiều yếu tố quyết định việc này, bao gồm thời điểm thiết bị được phát hành, kích thước nào được phát hành trước và giá của đối thủ cạnh tranh tại thời điểm đó.
Galaxy Fold 5 hiện được bán lẻ với giá $1799, không giảm nhiều so với lần ra mắt đầu tiên. Thiết bị có thể gập lại ltương đối mới, vì vậy có khả năng giá sẽ rất cao.
Tuy nhiên, thiết kế nắp gập có thể hợp lý hơn. Galaxy Z Flip 5 có giá $999, đây là một trong những thiết bị có thể gập rẻ nhất hiện nay. Nó có giá ngang với một chiếc iPhone 14 Pro cơ bản. Vì vậy, có lẽ Apple sẽ phát hành model này đầu tiên, thu hút nhiều đối tượng hơn.

Nếu các thiết bị gập khác giảm giá một chút, Apple có thể cũng đi theo xu hướng này. Apple và Samsung thường bán lẻ các thiết bị hàng đầu với mức giá giống hệt nhau (hoặc gần bằng nhau), vì vậy có khả năng xu hướng này sẽ tiếp tục trên các thiết bị gập.
Khi nào Apple sẽ phát hành iPhone gập?
Trước đây, Ming-Chi Kuo đã dự đoán rằng chiếc iPhone gập đầu tiên sẽ ra mắt vào năm 2023. Nhưng có vẻ như điều này sẽ không xảy ra.
Nhà phân tích Ross Young đã báo cáo rằng mình hy vọng chiếc điện thoại gập sẽ ra mắt vào năm 2024. Gurman không đồng ý với thời điểm phát hành vào năm 2024, nhưng cũng không đưa ra dự đoán cụ thể.
Như bạn có thể thấy, điện thoại gập của Apple có thể sẽ sớm ra mắt, vì Apple đã chậm vài năm so với các đối thủ, nếu tiếp tục trần chừ thì hãng sẽ tiếp tục tụt hậu xa hơn. Nhưng tất cả rốt cuộc cũng mới chỉ là dự đoán. .

Tạm gác những rò rỉ và tin đồn sang một bên, Apple sẽ làm mới hình thức iPhone vào năm 2024 hoặc 2025. Nếu Apple tuân theo mô hình phát hành thông thường từ iPhone 6, iPhone X và iPhone 14, thì năm 2024 là thời điểm sớm nhất mà chúng ta có thể mong đợi sự ra thay đổi lớn tiếp theo trong thiết kế iPhone.
Học IT










Công nghệ
Microsoft Word 2013
Microsoft Word 2007
Microsoft Excel 2019
Microsoft Excel 2016
Microsoft PowerPoint 2019
Google Sheets
Lập trình Scratch
Bootstrap
Hướng dẫn
Ô tô, Xe máy