Microsoft đã bổ sung Surface Pro 7 vào dòng sản phẩm Surface Pro của mình vào tháng 10 năm 2019 với chỉ một số cải tiến nhỏ. Rõ ràng đây là kế hoạch sai lầm bởi Surface Pro 7 đã không thể trở thành sản phẩm mang tính cách mạng, đem lại tiếng vang và thị phần như kỳ vọng của Microsoft.
Trong bối cảnh các đối thủ lớn như Lenovo, Dell, HP… liên tục cho ra mắt những sản phẩm ấn tượng, độc đáo như laptop 2 màn hình, laptop màn hình gập… Không còn thời gian để Microsoft chần chừ, nếu họ không muốn mất thêm thị phần vào tay đối thủ. Tình cảnh này buộc công ty Redmond phải cho ra mắt một sản phẩm mới không chỉ sở hữu thiết kế đẹp, cấu hình mạnh mẽ mà còn phải mang trong mình những tính năng có một không hai.
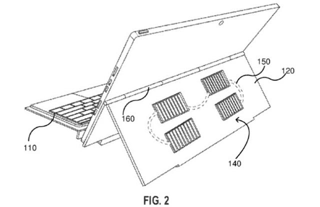
Mới đây, hình ảnh rò rỉ từ đơn xin cấp bằng sáng chế được Microsoft gửi đến Văn phòng Bằng sáng chế Hoa Kỳ (USPTO) đã hé lộ một phần nhỏ thông tin về mẫu Surface mang tính cách mạng nhiều khả năng sẽ được công ty Redmond giới thiệu trong thời gian tới.
Theo đó, mẫu laptop này có tên Surface Pro 8 Type Cover, với điểm nhấn là hệ thống pin năng lượng ánh sáng phức tạp ở phía mặt sau, như bạn có thể thấy ở hình ảnh rò rỉ phía dưới. Sẽ có ít nhất 4 tấm pin mặt trời được gắn vào phía mặt sau của Surface Pro 8 Type Cover, giúp thiết bị có thể sạc điện từ nhiều nguồn năng lượng ánh sáng khác nhau (bao gồm cả ánh sáng nhân tạo) chứ không chỉ ánh sáng mặt trời. Một điều thú vị khác là hệ thống pin năng lượng ánh sáng của Surface Pro 8 Type Cover được thiết kế theo cách có thể sạc ngay khi người dùng đang sử dụng.

Tuy nhiên bằng sáng chế không nêu rõ loại pin sẽ được Microsoft sử dụng. Đó có thể là pin mặt trời đơn tinh thể, pin mặt trời đa tinh thể, pin mặt trời silic màng mỏng hoặc pin mặt trời tập trung PV - những loại pin mặt trời đang được sử dụng phổ biến hiện nay.
Điểm độc đáo trong thiết kế của chiếc laptop này chính là phần chân đế độc đáo, cho phép người dùng thoải mái điều chỉnh góc của các tấm pin nhằm tối đa hóa khả năng tiếp xúc với ánh sáng, từ đó điều chỉnh tốc độ sạc của thiết bị.
Hiện tại Microsoft vẫn chưa đưa ra bất cứ thông tin chính thức nào về mẫu laptop này. Tuy nhiên triển vọng để một thiết bị như vậy được ra mắt là rất lớn, hứa hẹn đem lại những thay đổi thú vị trong thị trường laptop toàn cầu.
Học IT










Công nghệ
Microsoft Word 2013
Microsoft Word 2007
Microsoft Excel 2019
Microsoft Excel 2016
Microsoft PowerPoint 2019
Google Sheets
Lập trình Scratch
Bootstrap
Hướng dẫn
Ô tô, Xe máy