Nhiều khả năng Sony còn giới thiệu thêm một mẫu mirrorless sử dụng ngàm A-mount có ngoại hình như một chiếc DSLR gọn nhẹ.
Theo SonyAlphaRumors, máy ảnh mirroless thuộc dòng NEX này đang trong giai đoạn phát triển. Sản phẩm mới còn được đồn thổi sẽ sở hữu cảm biến full-frame độ phân giải 24,3 megapixel giống Alpha SLT-A99, sử dụng ngàm ống kính E-mount và có thể sẽ xuất hiện cùng với một ống kính Zeiss mới.

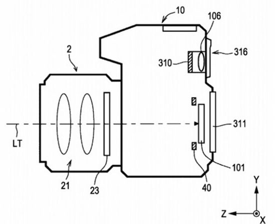
Hình ảnh được cho là thiết kế của model Sony A88 - mẫu máy ảnh mirrorless có thiết kế như DSLR với ngàm ống kính loại A-mount.
Bên cạnh đó, Sony cũng có thể trình làng một mẫu máy thay thế máy ảnh gương mờ Alpha SLT-A77 từng được giới thiệu cách đây gần 2 năm. Sản phẩm dự kiến sẽ có tên gọi là Sony A88, có thiết kế như các sản phẩm DSLR của hãng song ngoại hình gọn nhẹ hơn nhiều do không sử dụng gương lật trong bán phần như bản cũ.
Sony A88 sẽ là máy mirroless đầu tiên được trang bị ngàm ống kính loại A-mount, nhưng không được xếp chung "hàng ngũ" với các sản phẩm máy ảnh gương mờ của hãng. Thiết bị còn được cho là sẽ có cảm biến APS-C 24,3 megapixel hỗ trợ ghi hình Full HD, kính ngắm điện tử màn hình OLED và hệ thống ổn định hình ảnh tích hợp bên trong thân máy.
Hai sản phẩm có khả năng cùng xuất hiện vào mùa thu 2013, nhưng một số nguồn tin khác lại dự đoán máy sẽ chỉ được giới thiệu tại triển lãm CES đầu năm sau.
Học IT










Công nghệ
Microsoft Word 2013
Microsoft Word 2007
Microsoft Excel 2019
Microsoft Excel 2016
Microsoft PowerPoint 2019
Google Sheets
Lập trình Scratch
Bootstrap
Hướng dẫn
Ô tô, Xe máy