Apple đệ trình rất nhiều đơn xin cấp bằng sáng chế hàng năm. Tất nhiên, đa phần trong số đó chưa hoặc không thể trở thành các sản phẩm thương mại để người dùng trải nghiệm, nhưng nó phần nào cho thấy sức sáng tạo cũng như những ý tưởng đổi mới trong tương lai của gã khổng lồ công nghệ này.
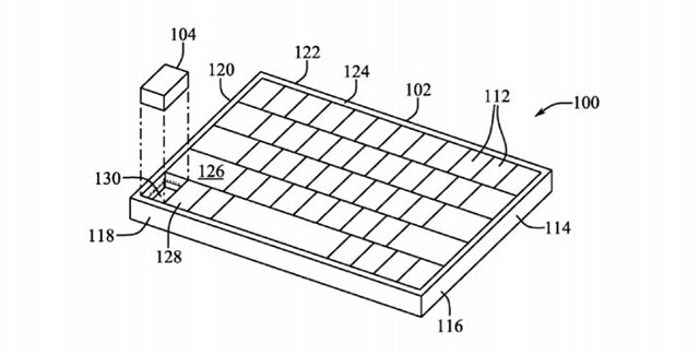
Theo báo cáo mới nhất từ Patently Apple, công ty Cupertino vừa được Văn phòng Sáng chế và Nhãn hiệu Hoa Kỳ (USPTO” cấp chứng nhận cho một bằng sáng chế mới khá thú vị có tiêu đề “Deployable Key Mouse”. Nội dung bằng sáng chế mới mô tả một hệ thống mà trong đó, bàn phím MacBook tiêu chuẩn mà chúng ta thường thấy được bổ sung thêm một phím có thể tháo rời và hoạt động như một thiết bị điều khiển con trỏ chuột trên màn hình. Trên bề mặt phím đặc biệt này sẽ được tích hợp cảm biến vị trí để biến chuyển động từ tay người dùng thành vị trí con trỏ tương ứng trên màn hình. Apple cho biết hệ thống này hoàn toàn có thể cung cấp dữ liệu đầu vào dưới dạng con trỏ chuột "thoải mái, di động và chính xác cho máy tính" tương tự như chuột hay bàn di chuột thông thường.
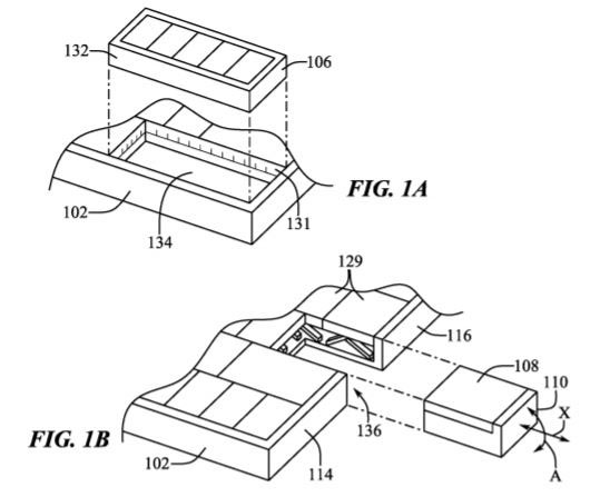
Ngoài ra, nội dung bằng sáng chế cho thấy Apple sẽ kết hợp các cơ chế trượt phức tạp cho hệ thống phím này, để người dùng có thể tháo lắp một cách dễ dàng theo chiều dọc cũng như chiều ngang.
Mặc dù đây là một cách khá thuận tiện để điều khiển con trỏ chuột trên nhưng thiết bị nhỏ gọn như Macbook, Apple Cũng lưu ý rằng việc dùng chuột chuyên dụng sẽ cho hiệu quả và trải nghiệm tối ưu hơn trên các tác vụ đồ họa hoặc sáng tạo nội dung chuyên sâu. Mặt khác đối với các tác vụ cơ bản như lướt web hay gõ văn bản, Apple cho rằng mang theo một con chuột riêng với máy tính là điều không cần thiết và có thể thay thế bằng hệ thống phím mới này. Ngoài ra, việc lược bỏ bàn di chuột thường thấy cũng có thể giúp nâng cao tính thẩm mỹ cho sản phẩm.
Vẫn còn quá sớm để nói về sự ra đời của một mẫu Macbook với hệ thống phím thú vị này. Nhưng rõ ràng sự ra đời của những ý tưởng độc đáo chính là động lực phát triển của thế giới công nghệ. Mọi phát minh hữu ích đều đáng được hoan nghênh.
Học IT 











Công nghệ
Microsoft Word 2013
Microsoft Word 2007
Microsoft Excel 2019
Microsoft Excel 2016
Microsoft PowerPoint 2019
Google Sheets
Lập trình Scratch
Bootstrap
Hướng dẫn
Ô tô, Xe máy