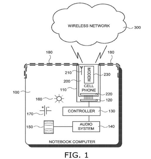
Gã khổng lồ tìm kiếm Google vừa được cấp bằng sáng chế số hiệu 8.649.821, xoay quanh khái niệm về một kết nối mới không hề giống với truyền thống giữa điện thoại và máy tính xách tay (laptop).

Dựa trên những thông tin từ Google thì công ty hoàn toàn có thể sử dụng Android và Chrome OS làm nền tảng chính cho dự án của mình. Nhưng vấn đề làm thế nào để chúng thực sự có ích, bởi các nhà sản xuất khác sử dụng smartphone làm bộ não của việc kết nối, trong khi thành phần đế kết nối (dock) tablet/laptop và các thành phần khác chỉ đơn giản tận dụng sức mạnh xử lí của điện thoại cũng như bổ sung không gian lưu trữ cho chúng mà thôi. Các giải pháp công nghệ trước đó con tận dụng màn hình lớn hơn trên laptop như một hình thức mở rộng hiển thị cho smartphone.
Tuy nhiên, sự kết hợp mới của Google lại thực hiện theo cách ngược lại khi cả hai thiết bị kết nối làm việc độc lập và tận dụng lợi thế các thành phần mà chúng cần đến. Ví dụ, laptop có thể sử dụng ăng-ten của điện thoại để kết nối dữ liệu di động, hoặc điện thoại có thể hoạt động như là loa/micro cho cuộc gọi VoIP trên laptop. Tương tự, điện thoại có thể tận dụng lợi thế loa và pin của laptop...
Nếu giả định như trên là chính xác thì Google sẽ tạo ra một kết nối mới giữa hai nền tảng, cho phép chúng làm việc một cách liên tục, bổ trợ nhau về các thành phần phần cứng có sẵn.

Mặc dù vậy, bên cạnh các thông số kĩ thuật yêu cầu, vấn đề là làm thế nào để các thiết bị Android và Chrome OS có thể làm việc song song? Về bản chất, điều này có nghĩa là các phần cứng sẽ làm việc với các phần mềm chéo trên hai nền tảng. Liên quan đến khả năng chia sẻ dữ liệu, Chromebook làm việc chủ yếu dựa trên đám mây, điều đó có nghĩa các tập tin được chia sẻ qua Google Drive, Music, Photo và các loại tương tự khác.
Bất kể điều này là gì đi chăng nữa thì điều này đánh dấu một bước trong tương lai dành cho Android và Chrome OS, giúp chúng có thể hợp nhất lại thành một, điều mà Google đang tính đến.
Học IT










Công nghệ
Microsoft Word 2013
Microsoft Word 2007
Microsoft Excel 2019
Microsoft Excel 2016
Microsoft PowerPoint 2019
Google Sheets
Lập trình Scratch
Bootstrap
Hướng dẫn
Ô tô, Xe máy