Cảm biến là thành phần quan trọng nhất của máy ảnh giúp thu nhận ánh sáng và gửi các tín hiệu thô đến chip xử lý ảnh nên việc thay thế đòi hỏi độ chính xác cao.

Hình vẽ mô tả bằng sáng chế giúp thay cảm biến ảnh.
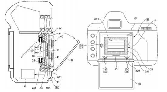
Bằng sáng chế liên quan đến máy ảnh có thể thay thế cảm biến được Nikon nộp lên cơ quan thẩm quyền vào ngày 3/9/2012 và được chấp thuận vào ngày 19/9 vừa qua. Các tài liệu đề cập đến cách để người sử dụng đạt được độ chính xác cao trong việc tự thay thế cảm biến.
Thông thường, các bộ cảm biến thường được gắn cố định vào các máy ảnh. Đây là thành phần quan trọng nhất của sản phẩm giúp thu nhận ánh sáng và gửi các dữ liệu thô tới chip xử lý hình ảnh.
Tuy nhiên, nhiều chuyên gia cũng lo ngại về khả năng thay thế cảm biến có thể dẫn đến những sai lệch sau quá trình sử dụng dài. Hơn nữa, việc bảo quản cảm biến cũng không phải điều dễ dàng. Phần linh kiện này "nhạy cảm" với các tác động thời tiết như ẩm hoặc quá hanh khô.

Một nắp lẫy phía sau giúp người dùng thực hiện thao tác trên.
Hiện nay, phổ biến nhất là các máy DSLR có thể thay thế ống kính cho từng mục đích sử dụng khác nhau. Ricoh cũng đưa ra các dòng máy ảnh có thể thay thế cả mô-đun cảm biến và chip xử lý nhưng không gặt hái được thành công trên thị trường.
Thông thường, một bằng sáng chế được đăng ký không có nghĩa hãng đó chắc chắn sẽ bán ra sản phẩm áp dụng trong tương lai. Đây cũng có thể coi là hướng đi độc đáo và mới lạ cho thị trường máy ảnh.
Học IT










Công nghệ
Microsoft Word 2013
Microsoft Word 2007
Microsoft Excel 2019
Microsoft Excel 2016
Microsoft PowerPoint 2019
Google Sheets
Lập trình Scratch
Bootstrap
Hướng dẫn
Ô tô, Xe máy