Công nghệ mới nhiều khả năng được hãng áp dụng cho iPhone với một cảm biến để nhận màu sắc, hình ảnh và một để nhận biết thông tin cường độ sáng.

Camera kép được Apple mô tả trên một chiếc máy tính.
Chỉ một ngày sau khi HTC trình làng điện thoại đầu tiên sử dụng máy ảnh kép với hai cảm biến và hai hệ thống quang học khác nhau, Apple đã được cấp bằng sáng chế tương tự. Theo Applinsider, công nghệ mới được gọi tên là thiết bị điện tử với hai cảm biến hình ảnh.
Các tài liệu mô tả các phần linh kiện được bố trí trên một mẫu máy tính xách tay nhưng nhiều khả năng sẽ được Apple đưa lên iPhone thế hệ mới. Hai máy ảnh với hai cảm biến riêng biệt sẽ chia nhiệm vụ với một nhận biết màu sắc, hình ảnh và một ghi lại cường độ sáng, độ sâu ảnh. Ý tưởng này cũng đi kèm là thiết kế mỗi mô-đun máy ảnh có kích thước mỏng hơn thay vì dùng chỉ một cảm biến như hiện nay. Nhà sản xuất nhờ thế có thể chế tạo các mẫu iPhone mới có kích thước mỏng hơn thế hệ cũ.
Nguồn tin cũng cho rằng việc chia sẻ thông tin về độ sáng và màu sắc giữa hai bộ cảm biến giúp cải thiện nhiễu cũng như các vấn đề liên quan đến tái tạo màu sai gây ra bởi các bộ lọc quang học.

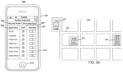
Khả năng bảo mật theo vị trí trên iPhone.
Ngoài ý tưởng về camera kép, Apple cũng nghiên cứu tính bảo mật mới cho phép thiết bị di động có thể tự động kích hoạt hoặc vô hiệu hóa một giao thức bảo mật nhất định tùy thuộc vào vị trí của thiết bị. Ví dụ, iPhone nếu để trong nhà sẽ chỉ yêu cầu mã bảo mật 4 chữ số nhưng khi ra khỏi khu vực này, máy sẽ chỉ nhận dấu vân tay của chủ nhân. Các phần mềm quan trọng khác như tin nhắn SMS, email cũng có thể được đặt mật khẩu riêng, điều mà nhiều người dùng iPhone đang rất chờ đợi.
 Học IT
 Học IT  
  
  
  
  
  
 
 Tổng hợp
 Tổng hợp 









 Công nghệ
 Công nghệ  Nền tảng Web
 Nền tảng Web  Microsoft Word 2013
 Microsoft Word 2013  Microsoft Word 2007
 Microsoft Word 2007  Microsoft Excel 2019
 Microsoft Excel 2019  Microsoft Excel 2016
 Microsoft Excel 2016  Microsoft PowerPoint 2019
 Microsoft PowerPoint 2019  Microsoft PowerPoint 2016
 Microsoft PowerPoint 2016  Google Sheets
 Google Sheets  Học Python
 Học Python  HTML
 HTML  Lập trình Scratch
 Lập trình Scratch  CSS và CSS3
 CSS và CSS3  Lập trình C
 Lập trình C  Lập trình C++
 Lập trình C++  Lập trình C#
 Lập trình C#  Học PHP
 Học PHP  Bootstrap
 Bootstrap  SQL Server
 SQL Server  JavaScript
 JavaScript  Unix/Linux
 Unix/Linux  Khoa học vui
 Khoa học vui  Khám phá khoa học
 Khám phá khoa học  Bí ẩn - Chuyện lạ
 Bí ẩn - Chuyện lạ  Sức khỏe
 Sức khỏe  Vũ trụ
 Vũ trụ  Khám phá thiên nhiên
 Khám phá thiên nhiên  Bảo vệ Môi trường
 Bảo vệ Môi trường  Phát minh Khoa học
 Phát minh Khoa học  Tết 2025
 Tết 2025  Video
 Video  Hướng dẫn
 Hướng dẫn  Công nghệ
 Công nghệ  Khoa học
 Khoa học  Ô tô, Xe máy
 Ô tô, Xe máy