Nokia đã đăng ký bằng sáng chế cho một thiết bị di động 3D, có 2 màn hình, cho phép dùng ngón tay để xoay các thành phần giao diện trong khoảng không phía trước màn hình.
News.ru hôm 6/5/2011 cho biết, thiết bị được thiết kế giống như cuốn sách, trong đó màn ở hình phía trên hỗ trợ hiệu ứng 3D không cần kính, màn hình nằm ở dưới là một màn hình 2D bình thường.
Trong đơn xin cấp bằng sáng chế của Nokia, chiếc máy này có tên"Thiết bị với hệ thống hiển thị hình ảnh nổi", đã đăng ký từ năm 2009 và công bố trong một cơ sở dữ liệu mở của WIPO (Tổ chức Sở hữu trí tuệ thế giới)
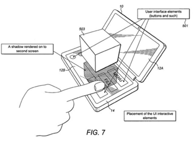
Ngoài hệ thống hiển thị 3D, thiết bị còn được trang bị hệ thống điều khiển trong không gian, với thành phần chính là các camera theo dõi chuyển động của mắt và các ngón tay của người dùng trong không gian phía trước màn hình. Cũng có thể điều khiển thiết bị bằng màn hình dưới, là một màn hình cảm ứng.

Thiết bị trông giống máy chơi game Nintendo 3DS: màn hình phía trên 3D, phía dưới là cảm ứng.

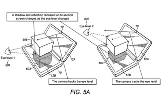
Hình ảnh 3D sẽ thay đổi tùy theo vị trí mắt người dùng để họ nhìn thấy hiệu ứng 3D từ bất kỳ điểm nào trong không gian. Phần bóng đổ của hình ảnh trên màn hình phía dưới cũng thay đổi tương ứng.

Có thể điều khiển thiết bị nhờ màn hình cảm ứng phía dưới.

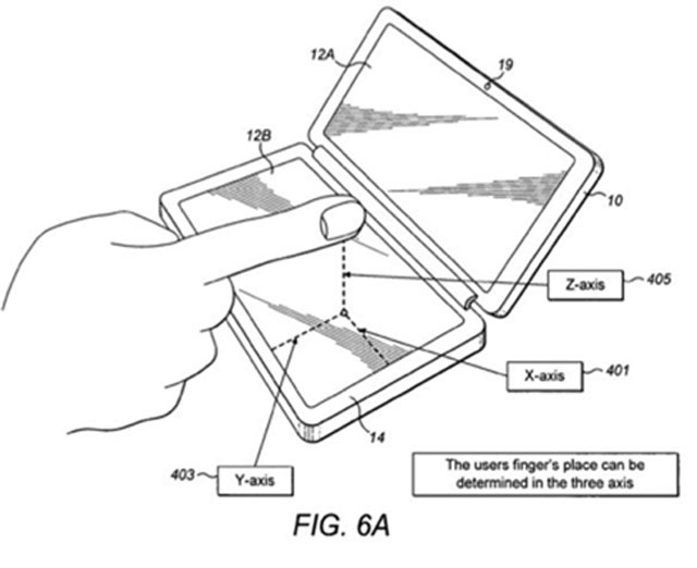
Các camera gắn trong sẽ theo dõi chuyển động của ngón tay người dùng và xác định vị trí các ngón tay trong không gian ba chiều.

Ngón tay người dùng để lại "dấu vết" trên bề mặt giao diện 3D trong không gian, và họ có thể xoay các thành phần giao diện này.
Ý tưởng này gợi nhắc ngay đến Nintendo 3DS - một thiết bị chơi game cầm tay có hình dạng y hệt thiết bị được mô tả trong đơn đăng ký bằng sáng chế của Nokia, cũng được trang bị 2 màn hình, một màn hình 3D cùng với một màn hình cảm ứng 2D.
Tuy nhiên, Nokia đã quyết định đi xa hơn bằng việc tạo hình ảnh nổi có khả năng thích ứng - hình ảnh trên màn hình thay đổi tùy theo vị trí của đôi mắt người dùng trong không gian. Trong khi đó, ở Nintendo 3DS, để đạt hiệu quả 3D tối đa, vị trí của đầu người dùng phải cố định!
Theo các dự đoán mạnh dạn, loại thiết bị cho phép dùng ngón tay để xoay lật các bề mặt giao diện người dùng trong không gian phía trước màn hình có thể được bán ra vào năm 2015.
Trong khi đó, thị phần của Nokia trên thị trường smartphone thế giới đang tiếp tục suy giảm. Theo báo cáo mới của Công ty IDC, trong Quý 1/2011, Nokia đã bán ra 24,2 triệu smartphone. Tuy nhiên tăng trưởng so với cùng kỳ năm ngoái chỉ là 12,6%, nên Nokia không cứu nổi sự suy giảm thị phần của họ từ 38,9% xuống còn 24,3%.
Thị phần của Nokia suy giảm là do các đấu thủ khác đạt được kết quả cao hơn nhiều. Ví dụ, Apple đã tăng lượng cung lên 114,4% đến 18,7 triệu smartphone; Samsung tăng 350% lên đến 10,8 triệu thiết bị; HTC tăng 229,6% lên 8,9 triệu thiết bị. Tổng thị trường đã tăng 79,7%, lên đến 99,6 triệu chiếc.
Hiện Nokia đang trong quá trình chuyển sang nền tảng Windows Phone. Việc này được biết đến từ đầu tháng 2/2011. Trong tháng 4/2011, các bên liên quan đã ký thoả thuận ràng buộc. Các thiết bị đầu tiên chạy Windows Phone được hoạch định bán ra vào năm 2012.
Tuy nhiên, Nokia cũng không vội vã từ bỏ Symbian. Mới đây, nhà cung cấp này đã xuất xưởng một bản cập nhật đáng kể cho phiên bản thứ ba của nền tảng Symbian và trong vòng vài năm tới, hãng vẫn có kế hoạch tiếp tục xuất xưởng các thiết bị mới trên nền tảng này.
Học IT










Công nghệ
Microsoft Word 2013
Microsoft Word 2007
Microsoft Excel 2019
Microsoft Excel 2016
Microsoft PowerPoint 2019
Google Sheets
Lập trình Scratch
Bootstrap
Hướng dẫn
Ô tô, Xe máy