Thiết kế mới cho phép mỗi điểm ảnh của cảm biến nắm bắt thông tin màu sắc khác nhau mà không cần đến bộ lọc màu.

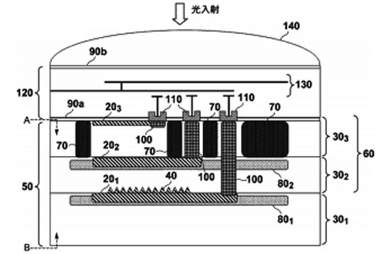
Sơ đồ mô tả lớp cảm biến trong bằng sáng chế của Canon.
Canon mới đây đã được cấp một bằng sáng chế về thiết kế cảm biến nhiều lớp nhạy cảm màu. Diễn biến mới cho thấy hãng máy ảnh Nhật Bản vẫn đang theo đuổi công nghệ được coi là mang tính đột phá so với hầu hết các cảm biến trên thị trường hiện tại. Thông tin từ Japanese Engineering Accomplishment cho hay Canon đang muốn sản xuất hệ thống nhằm thúc đẩy sự cộng hưởng trong các bộ cảm biến, trong nỗ lực để làm cho các lớp dưới nhạy cảm hơn.
Giống như chip Foveon của Sigma, thiết kế nhiều lớp cho phép mỗi điểm ảnh của cảm biến nắm bắt thông tin về màu sắc khác nhau và không cần đến bộ lọc màu.

Cảm biến trong 7D có hai lớp với một lớp là hệ thống đo sáng iFCL.
Canon đã từng sử dụng một bộ cảm biến hai lớp trong hệ thống đo sáng iFCL giới thiệu cùng mẫu EOS 7D. Hiện nay mới chỉ có Sigma, với công nghệ Foveon độc quyền là sử dụng một thiết kế nhiều lớp tái tạo hình ảnh cuối cùng.
Nguyên tắc là màu sắc khác nhau của ánh sáng có năng lượng khác nhau, cho phép thâm nhập vào độ sâu khác nhau trong tầng lớp của cảm biến. Thiết kế cảm biến hiện tại chưa thể cung cấp độ nhạy cảm ánh sáng như vậy. Ví dụ như màu đỏ có thể bị mất trong các bộ cảm biến thay vì được ghi lại.
Canon hiện không phải là công ty duy nhất nghiên cứu cảm biến nhiều lớp sau Sigma. Sony cũng đã công bố một bằng sáng chế gần tương tự với hy vọng bỏ thiết kế màu moire và độ phân giải màu sắc tồn tại trong thiết kế Bayer truyền thống.
Học IT










Công nghệ
Microsoft Word 2013
Microsoft Word 2007
Microsoft Excel 2019
Microsoft Excel 2016
Microsoft PowerPoint 2019
Google Sheets
Lập trình Scratch
Bootstrap
Hướng dẫn
Ô tô, Xe máy