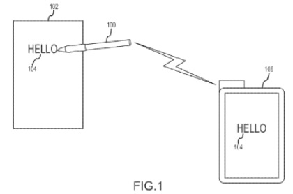
Apple vừa nhận bằng sáng chế cho chiếc bút điện tử có thể viết lên mọi chất liệu như bút thông thường, nhưng lại có thể hiển thị các nội dung đã viết lên màn hình các thiết bị như smartphone hoặc tablet.
Đây là một phụ kiện rất thuận tiện khi sử dụng trong môi trường lớp học. Nếu giáo viên sử dụng bút điện tử để viết lên bảng trắng trong lớp học, bản sao của những nội dung này sẽ được chuyển đến máy tính bảng của sinh viên.

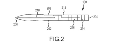
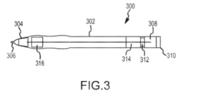
Ngòi hoán đổi của chiếc bút sẽ cho phép người sử dụng viết lên giấy hoặc viết lên các loại vật liệu khác. Ngoài ra còn có một chiếc ngòi chuyên để viết lên màn hình iPad của Apple. Thiết bị này sẽ được kích hoạt khi được nhấc lên, khi đầu bút chạm vào giấy hoặc khi được bật lên.

Một chiếc bút thông minh có tên là Livescribe 3 cũng có vài đặc điểm tương tự như chiếc bút được cấp bằng sáng chế của Apple. Tuy nhiên, nó phức tạp hơn vì sử dụng camera hồng ngoại ở đầu bút để ghi lại những nét viết.
Apple đã phá vỡ truyền thống khi cấp bằng sáng chế cho một chiếc bút điện tử. Đây là phát minh mà Steve Jobs khi sinh thời vô cùng căm ghét. Tuy nhiên cũng không nên trách cứ Apple vì hãng này đang phải chịu rất nhiều áp lực cạnh tranh từ các đối thủ khác.

Samsung đã vô cùng thành công với chiếc S Pen và LG cũng cho ra mắt công cụ tương tự cho chiếc LG G4. Vì vậy đừng ngạc nhiên nếu Apple cuối cùng sẽ cho sản xuất bút điện tử để đi kèm với các thiết bị như iPhone hay iPad.
Học IT










Công nghệ
Microsoft Word 2013
Microsoft Word 2007
Microsoft Excel 2019
Microsoft Excel 2016
Microsoft PowerPoint 2019
Google Sheets
Lập trình Scratch
Bootstrap
Hướng dẫn
Ô tô, Xe máy