Với bằng sáng chế mới, chất lượng camera trên các sản phẩm của Apple có thể cải thiện nhờ gắn thêm ống kính nhưng vẫn đảm bảo tính thẩm mỹ.
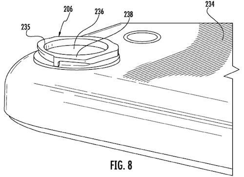
Theo Macrumors, Apple đã được cấp bằng sáng chế liên quan đến ống kính gắn rời cho iPhone. Hệ thống này bao gồm cụm camera được thiết kế đặc biệt cho phép gắn thêm (lens mount) bộ quang học thành một khối thống nhất với điện thoại.

Bằng sáng chế hệ thống gắn ống kính cho điện thoại của Apple. Ảnh: Macrumors.
Theo Apple, phương pháp của hãng đã giải quyết vấn đề thẩm mỹ và chất lượng hình ảnh. iPhone vẫn giữ được kiểu dáng thời trang nhưng chất lượng camera có thể cải thiện đáng kể. Với thiết kế riêng, phần kính gắn rời đủ chắc chắn ngay cả khi hoạt động thể thao hay di chuyển nhanh.

Bộ phụ kiện ống kính cho iPhone của hãng Olloclip. Ảnh: Macrumors.
Một số nhà sản xuất khác đã giới thiệu ống kính gắn rời cho iPhone. Tuy nhiên nếu Apple tung ra sản phẩm của riêng mình, nhiều khả năng những phụ kiện của hãng thứ ba sẽ khó cạnh tranh.
Vào 6/2012, Apple đã đăng ký sáng chế thay ống kính cho điện thoại và được cấp bằng vào đầu năm 2014. Phương pháp này cho phép thay thế nắp lưng điện thoại qua đó hoán đổi ống kính để có nhiều trải nghiệm nâng cấp cho camera.
Học IT










Công nghệ
Microsoft Word 2013
Microsoft Word 2007
Microsoft Excel 2019
Microsoft Excel 2016
Microsoft PowerPoint 2019
Google Sheets
Lập trình Scratch
Bootstrap
Hướng dẫn
Ô tô, Xe máy