Tại sao phải xây dựng kho chứa hàng trên mặt đất trong khi có rất nhiều không gian dưới nước dành cho những kho hàng hoàn toàn tự động? Hãy cùng chúng tôi tham khảo xem Amazon đệ trình sáng chế kho hàng dưới nước để tối đa hóa không gian lưu trữ như thế nào nhé!
- 15 điều tiên đoán của Bill Gates từ năm 1999 đã trở thành sự thật
- Amazon đưa ra giải pháp thông minh giải quyết vấn đề nhức nhối nhất khi mua quần áo online
- 20 sản phẩm độc đáo trên Amazon mà bạn muốn sở hữu ngay lập tức
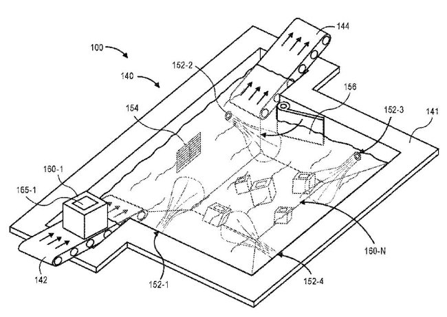
Trong văn bản bằng sáng chế vừa nộp cho cơ quan bản quyền Mỹ, Amazon đệ trình một sáng chế khá kỳ lạ, có tên gọi là trung tâm lưu trữ dưới nước, nơi lưu trữ hàng hóa được gói vào trong các thùng chứa chống nước và được kiểm soát bằng một chiếc hộp chứa nhiều thiết bị công nghệ gắn với mỗi thùng hàng.

Amazon luôn đi tiên phong trong việc thử nghiệm các cách thức cất giữ và cung cấp hàng hóa cho khách hàng. Không lâu trước đây, hãng này đã đề xuất ý tưởng kho hàng dạng tháp phục vụ việc vận chuyển hàng bằng drone.
Ý tưởng này lần đầu tiên được đệ trình vào đầu năm ngoái, Amazon gọi đó là một “trung tâm hoàn chỉnh dưới nước” dùng để lưu trữ hàng hóa giữa những hồ nước, con sông hoặc bất cứ vùng nước nào có thể.
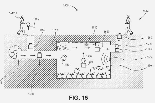
Ban đầu, người ta sẽ cho những món hàng hóa vào trong các thùng chứa chống nước. Thùng chứa chống nước này là chìa khóa của hệ thống kho hàng dưới nước, chứa thiết bị có thể nhận và gửi các hướng dẫn theo nhiều cách khác nhau, bao gồm cả tín hiệu âm thanh. Sau đó dùng dù để thả từ trên không xuống dưới nước. Tùy theo khối lượng bên trong mà kiện hàng đó sẽ chìm xuống những độ sâu khác nhau. Khi cần lấy lên, người ta sẽ dùng những xung hoặc trường lực âm thanh để đẩy các kiện hàng lên mặt nước thông qua việc thay đổi khối lượng riêng của kiện hàng.

Tức là, khối lượng riêng có thể được thay đổi bằng cách nào đó biến đổi điện tích của không khí bên trong kiện hàng, tương tự như việc tia chớp i-on hóa không khí và làm thay đổi khối lượng riêng của nó. Bên cạnh đó, cũng có một giải pháp khác là người ta có thể thiết kế thêm một buồng chứa chất lỏng bên trong kiện hàng, muốn dìm hoặc đưa nó lên thì chỉ cần đóng mở van để thêm hoặc lấy bớt dung dịch ra.
Ngoài ra, người ta cũng sẽ dùng khí cầu để đưa các kiện hàng lên mặt nước và mang giao cho người mua. Amazon không đề cập tới việc hàng sẽ được giao đến khách hàng như thế nào nhưng trước đây, họ đã nộp một bằng sáng chế khác, trong đó có đưa ra ý tưởng dùng các phương tiện bay “airship”. Dĩ nhiên, công việc này cũng có thể được đảm nhiệm bởi drone.

Theo sơ đồ miêu tả đi kèm với bằng sáng chế, toàn bộ quy trình cất giữ của kho hàng dưới nước sẽ được Amazon tự động hóa. Thùng chứa chống nước sẽ kết nối với một mạng điều khiển và điều chỉnh độ sâu của hàng hóa thông qua cảm biến chiều sâu, khí nén... Tích hợp cả GPS, thùng chứa chống nước có thể cho phép Amazon cất giữ hàng hóa ở bất vùng nước nào và dễ dàng thu hồi khi cần. Thậm chí, với sự hỗ trợ của hệ thống quạt đẩy, Amazon có thể cất hàng ở một khu vực kho dưới nước bí mật với bề mặt được phủ kín hoàn toàn.
Điều này nghe có vẻ điên rồ nhưng việc cất hàng dưới nước mang lại nhiều ưu điểm. Hàng hóa được chứa trong những bao bì chống thấm và gắn những chiếc hộp đặc biệt có thể được thả từ xe tải hoặc máy bay xuống kho hàng dưới nước mà không sợ bị thiệt hại do va đập.

Giải thích cho việc muốn trữ hàng hóa dưới nước, bằng sáng chế gợi ý rằng do những "trung tâm chứa hàng hoàn chỉnh hiện tại đang ngày càng lớn lên, phức tạp và đòi hỏi nhiều công nghệ để quản lý hàng hóa và các kho chứa hiện tại đã chiếm diện tích hàng triệu mét vuông hoặc hơn”.
"Bất chấp việc công nghệ ngày càng tiến bộ, các trung tâm vận chuyển, kho bãi vẫn còn bị cản trở bởi việc sử dụng không hiệu quả không gian. Amazon tin rằng nhà kho dưới nước có thể giải quyết những vấn đề kém hiệu quả nói trên".
Trong khi đó, các kho chứa hàng dưới nước có thể tận dụng không gian chiều dọc tốt hơn. Amazon cho biết rằng hiện các nhân viên làm việc tại kho chứa hàng trên mặt đất phải đi bộ hàng km để lấy hàng nhưng công việc này có thể được thay thế bởi các hệ thống tự động nếu kho hàng đặt dưới nước.
Khi đã xuống kho, thùng chứa chống nước sẽ đảm nhiệm mọi công việc tiếp theo mà không cần tới công nhân. Việc thuê hoặc mượn một không gian kho hàng dưới nước chắc chắn sẽ rẻ hơn nhiều so với diện tích trên mặt đất, vì vậy nó sẽ giúp Amazon giảm chi phí kho bãi. Thậm chí, việc tận dụng những vùng nước bỏ không để làm kho còn giúp giảm chi phí tới mức thấp hơn nữa.
Tất nhiên, trên đây vẫn chỉ là một bằng sáng chế trong số rất nhiều bằng sáng chế, không chỉ riêng Amazon mà còn nhiều hãng khác nộp xin bản quyền. Tuy nhiên, với sự phát triển ngày càng nhanh chóng của Amazon cùng các kho hàng thì việc đưa hàng hóa xuống nước để lưu trữ không phải là một giải pháp viển vông. Hơn nữa, cùng với việc đưa hàng xuống nước họ còn có thể lợi dụng các dòng chảy tự nhiên để chuyển hàng đi từ nơi này sang nơi khác một cách rẻ hơn nữa.
Xem thêm: 15 sự thật thú vị có thể bạn chưa biết về Amazon
Chúc các bạn vui vẻ!
Học IT










Công nghệ
Microsoft Word 2013
Microsoft Word 2007
Microsoft Excel 2019
Microsoft Excel 2016
Microsoft PowerPoint 2019
Google Sheets
Lập trình Scratch
Bootstrap
Hướng dẫn
Ô tô, Xe máy