Dòng máy ảnh "siêu compact" của Sony có thể áp dụng công nghệ mới nhất của Sony trong thời gian tới.
Ngày hôm qua, Sony công bố một bằng sáng chế mới trong đó đề cập đến việc sử dụng hệ thống gương mờ (translucent mirror) cho các máy ảnh không sử dụng kính ngắm. Theo hãng máy ảnh Nhật Bản, người dùng lúc này sẽ ngắm khung hình trực tiếp qua màn hình hiển thị LCD.

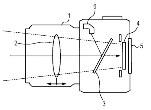
Bằng sáng chế mới nhất được Sony công bố.

Hệ thống gương mờ trong dòng máy Alpha.
Việc loại bỏ các kính ngắm điện tử EVF sẽ khiến máy có trọng lượng nhẹ hơn và giá cả cũng thấp hơn trước. Hiện tại, hệ thống kiểu này đang được Sony áp dụng cho các mẫu máy Sony Alpha là A33 và A55.
Với hệ thống gương mờ (translucent mirror), hầu hết ánh sáng từ ống kính đều có thể xuyên qua để tới cảm biến. Một phần ánh sáng khuếch tán được phản chiếu ngược lên cảm biến nét phục vụ cho cơ chế lấy nét theo pha.
Học IT










Công nghệ
Microsoft Word 2013
Microsoft Word 2007
Microsoft Excel 2019
Microsoft Excel 2016
Microsoft PowerPoint 2019
Google Sheets
Lập trình Scratch
Bootstrap
Hướng dẫn
Ô tô, Xe máy