Khi mà thiết kế smartphone hình chữ nhật hiện nay đã bắt đầu trở nên nhàm chán, còn các thiết bị màn hình gập vẫn chưa thực sự được ưa chuộng như mong đợi, Samsung dường như đang ấp ủ một thiết kế mới đầy sáng tạo dành cho điện thoại thông minh. Một bằng sáng chế mới được chấp thuận gần đây đã tiết lộ ý tưởng của Samsung về một chiếc điện thoại hình vuông hoàn toàn, đi kèm với phần màn hình có thể mở rộng linh hoạt.
Điện thoại Samsung với công nghệ màn hình mở rộng
Gã khổng lồ công nghệ Hàn Quốc đang là cái tên dẫn đầu trong phân khúc điện thoại thông minh màn hình gập, với các sản phẩm mới nhất là Galaxy Z Fold 5 và Galaxy Z Flip 5. Nhưng có vẻ như tham vọng của hãng không dừng lại ở đó. Một bằng sáng chế của Samsung đã được phát hiện cho thấy một chiếc điện thoại có hình vuông tuyệt đối và màn hình có thể mở rộng hoặc thu gọn linh hoạt khi cần. Thiết kế sáng tạo này không chỉ độc đáo về mặt thẩm mỹ, mà có thể giải quyết một số vấn đề cố hữu mà điện thoại màn hình gập đang gặp phải.
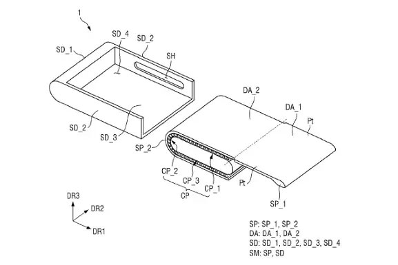
Một chiếc điện thoại có thể mở rộng trong sẽ giống một màn hình thông thường, giúp tăng sự thiết thực cho người dùng trong quá trình sử dụng. Nhưng còn vấn đề độ bền thì sao? Điện thoại thông minh thông thường vẫn được đánh giá là bền hơn điện thoại màn hình gập vì không có các bộ phận bản lề chuyển động. Tuy nhiên, bằng sáng chế mới nhất của Samsung có thể khắc phục hạn chế này bằng một loại màn hình linh hoạt khác. Không giống như điện thoại màn hình gập lại thông thường, tấm nền mở rộng chỉ đơn giản là một phần nhỏ của thiết bị có thể được kéo ra để có thêm diện tích hiển thị.

Thiết kế mới sẽ tập trung vào việc căn chỉnh song song cùng với các kết nối và cấu trúc hỗ trợ độc đáo để mang lại độ linh hoạt và độ bền cao hơn cho màn hình. Cụ thể hơn, màn hình cuộn để mở rộng hoặc thu gọn sẽ loại bỏ hoàn toàn nếp gấp, mang lại trải nghiệm liền mạch hơn. Cấu trúc ba phần riêng biệt mang đến độ linh hoạt và bền bỉ cao, chống chịu va chạm và rơi rớt tốt hơn. Ngoài ra, thiết kế hình vuông nhỏ gọn của thiết bị cũng sẽ giúp người dùng dễ dàng mang theo bên mình và sử dụng mọi lúc mọi nơi.
Vẫn còn quá sớm để nói về sự ra đời của mẫu điện thoại độc đáo này, nhưng sự xuất hiện của những ý tưởng sáng tạo như vậy là rất quan trọng, mang đến một cái nhìn thoáng qua về kế hoạch của các nhà sản xuất trong tương lai.
Học IT










Công nghệ
Microsoft Word 2013
Microsoft Word 2007
Microsoft Excel 2019
Microsoft Excel 2016
Microsoft PowerPoint 2019
Google Sheets
Lập trình Scratch
Bootstrap
Hướng dẫn
Ô tô, Xe máy