Có thể bản quyền thiết kế máy tính bảng mới nhất của Samsung sẽ được xếp vào danh sách những bằng sáng chế công nghệ kỳ cục nhất năm.
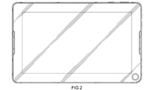
Cục thương hiệu và bản quyền Mỹ USPTO đã cấp cho Samsung một bằng sáng chế cho tablet với một lỗ tròn lớn nằm ở góc dưới bên phải (không phải kiểu lỗ nhỏ để móc dây đeo như trên điện thoại).
Hiện chưa rõ khoanh tròn này có vai trò gì trong việc mang đến trải nghiệm tốt hơn cho người dùng sản phẩm. Thậm chí, có trang công nghệ còn kêu gọi độc giả dự đoán chức năng của chiếc lỗ gây tò mò này.
Ngoài ra, máy tính bảng của Samsung không có gì đặc biệt, như loa được đặt ở cạnh bên, camera nằm ở phía sau, có hỗ trợ bút S Pen...




Học IT










Công nghệ
Microsoft Word 2013
Microsoft Word 2007
Microsoft Excel 2019
Microsoft Excel 2016
Microsoft PowerPoint 2019
Google Sheets
Lập trình Scratch
Bootstrap
Hướng dẫn
Ô tô, Xe máy