Viễn cảnh khi bạn bước chân về nhà là chiếc điện thoại, máy tính bảng, smartwatch... đều sẽ tự động được sạc không dây có lẽ sẽ trở thành sự thật trong tương lai bởi hãng Samsung đã bắt đầu đăng ký bản quyền để nghiên cứu tạo ra những bức tường sạc điện không dây. Khi đó, chỉ cần ở trong phòng là các thiết bị điện tử tự động được sạc đầy pin.
Thực tế, trong bản đăng ký bản quyền của Samsung nói về việc nghiên cứu chế tạo ra những bức tường có thể phản xạ lại sóng năng lượng phát ra từ một thiết bị sạc không dây để trong phòng chứ không hề nhắc đến một bức tường có thể sạc không dây nào cả. Sóng năng lượng được phản xạ này sẽ hướng vào thiết bị điện tử của bạn và từ đó giúp sạc pin cho chúng dù ở vị trí nào trong phòng.

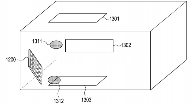
Hình ảnh trong đăng ký bản quyền của Samsung.
Hiện nay, hầu hết các thiết bị điện tử đều sử dụng dây sạc pin khá lằng nhằng. Công nghệ sạc không dây vẫn còn khá mới mẻ, mới chỉ được ứng dụng cho một số thiết bị cụ thể và phải sử dụng tới một đốc sạc (đặt điện thoại cần sạc vào thiết bị này).
Một thiết bị sạc không dây và các bộ phận phản xạ lắp trên tường.
So với việc tạo ra những bức tường tự phát sóng để sạc cho các thiết bị điện tử, những bức tường có khả năng phản xạ lại sóng năng lượng này được đánh giá cao hơn nhờ tính tiết kiệm và đơn giản của nó. Nó được hy vọng sẽ mở ra một cách mạng trong giới công nghệ.
Và nếu bộ thiết bị này được hoàn thiện thì viễn cảnh khi bạn vừa vào phòng, điện thoại của bạn sẽ được sạc pin ngay cả khi không cần bỏ ra khỏi túi sẽ không chỉ là một ước mơ xa vời nữa.
Xem thêm:
 Học IT 
 
 
 
 
 
 









 Công nghệ 
 Microsoft Word 2013 
 Microsoft Word 2007 
 Microsoft Excel 2019 
 Microsoft Excel 2016 
 Microsoft PowerPoint 2019 
 Google Sheets 
 Lập trình Scratch 
 Bootstrap 
 Hướng dẫn 
 Ô tô, Xe máy