Một sáng chế mới được nộp của Nikon cho thấy hãng này có thể sắp có ống độ mở khủng f/0.7.

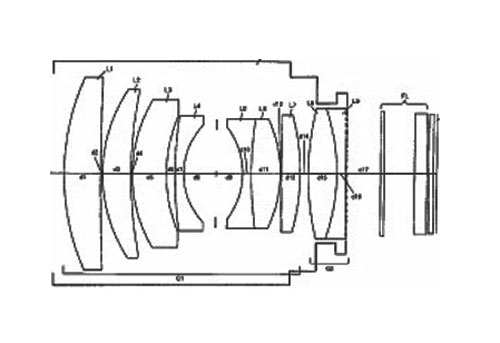
Thiết kế ống kính f/0.7 của Nikon. (Ảnh: Pentapixel).
Sáng chế mới này đề cập đến thế hệ ống kính mới cho máy không gương lật Nikon 1, như ống 32mm f/1.2 (ảnh trên), nhưng bổ sung thêm rằng công nghệ hiện tại của hãng cho phép dễ dàng đạt được độ mở thậm chí còn lớn hơn.
Mặc dù chưa công bố chính thức, nhưng có vẻ như ống kính sắp tới cho Nikon 1 chắc chắn sẽ đạt được độ mở f/1.2 (ống 32mm), và theo sau là f/1.0 và cuối cùng là f/0.7 trong một tương lai không xa.
Tuy nhiên, thực tế cho thấy chỉ có các máy ảnh không gương lật mới tận dụng và có cơ hội sở hữu lợi thế của các ống độ mở rộng. Các ống dành cho DSLR trên thực tế chỉ xuống đến f/1.2 là rộng nhất (không kể ống f/0.95 cho các máy rangefinder của Leica) và để có được các ống khủng như vậy, người dùng sẽ phải bỏ ra khoản tiền không nhỏ. Đơn cử ống 50mm f/1.2 của Canon có giá tới 1.500 USD, còn ống Leica Noctilux 50mm f/0.95 có mức giá tới 11.000 USD.
Học IT










Công nghệ
Microsoft Word 2013
Microsoft Word 2007
Microsoft Excel 2019
Microsoft Excel 2016
Microsoft PowerPoint 2019
Google Sheets
Lập trình Scratch
Bootstrap
Hướng dẫn
Ô tô, Xe máy