Có vẻ những chiếc smartphone màn hình cong sẽ sớm trở thành một xu hướng mới.
Sau khi Samsung và cả LG liên tục "phủ đầu" với những smartphone có màn hình cong, đến lượt Apple cho thấy họ không phải là kẻ ngoài cuộc trong "mặt trận" mới này. Mới đây, Apple đã chính thức được cấp bằng sáng chế cho kiểu dáng màn hình cong tại Mỹ.

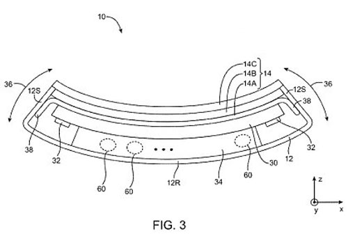
Một hình ảnh về bằng sáng chế mới của Apple
Kiểu dáng màn hình cong trong bằng sáng chế mà Apple vừa có được định nghĩa: "Một thiết bị điện tử linh hoạt, bao gồm một màn hình tuỳ biến cao cùng những thành phần khác". Tất nhiên điều này không có nghĩa là Apple sẽ tung ra các sản phẩm iPhone màn hình cong cong thời gian tới, bởi việc đăng kí bằng sáng chế nhiều khi chỉ đơn giản là ... không muốn cho phép đối thủ sử dụng công nghệ đó trong các sản phẩm của họ, từ đó có được các lệnh cấm bán từ toà án nếu chúng xuất hiện trên thị trường.

... và các thông số của nó
Apple sở hữu bằng sáng chế này khá "đúng lúc" khi mà dư âm về scandal iPhone 6 bị bẻ cong màn hình vẫn còn trong tâm trí người sử dụng, và các hãng đối thủ của họ như Samsung và LG thì liên tục ra mắt các mẫu màn hình "biến dạng" như Galaxy Note Edge hay mới đây nhất là chiếc smartphone được làm cong 2 cạnh màn hình của LG. Việc sở hữu bằng sáng chế quan trọng này sẽ giúp Apple nắm thể chủ động trên thị trường "sân nhà" của họ là Mỹ.
Các màn hình cong đang dần trở nên phổ biến hơn. Mặc dù công nghệ màn hình OLED đã được ra mắt từ lâu, nhưng chỉ gần đây thì nó mới thực sự xuất hiện trên các sản phẩm thực sự. Dự kiến 2015 sẽ là năm cạnh tranh khốc liệt trên thị trường mới này.
Học IT










Công nghệ
Microsoft Word 2013
Microsoft Word 2007
Microsoft Excel 2019
Microsoft Excel 2016
Microsoft PowerPoint 2019
Google Sheets
Lập trình Scratch
Bootstrap
Hướng dẫn
Ô tô, Xe máy