Văn phòng Bản quyền thương hiệu Mỹ (USPTO) vừa tiết lộ một bản quyền mà Apple đã đăng ký, qua đó cho thấy các dòng iPhone và iPad trong tương lai sẽ được tích hợp máy chiếu thu nhỏ trực tiếp bên trong.
CNet ngày 17.7 dẫn lại thông tin của USPTO cho biết, Apple gọi công nghệ của mình là "màn hình chia sẻ theo phương thức chạm", mô tả việc một máy chiếu thu nhỏ sẽ được tích hợp sẵn vào bên trong các thiết bị iOS, được điều khiển bằng các thao tác cử chỉ.

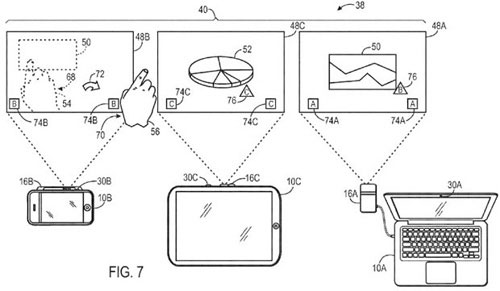
Hình ảnh mô tả bằng sáng chế tích hợp máy chiếu thu nhỏ vào trong iPhone, iPad
Điều này có nghĩa là, trong tương lai người dùng có thể sử dụng ngay iPhone hoặc iPad thực hiện việc thuyết trình bằng hình ảnh các tài liệu được lưu trong máy một cách nhanh chóng, thay vì phải sử dụng thêm một chiếc máy chiếu kết nối với chiếc laptop như hiện nay.
Giới phân tích nhận định rất có thể cả các dòng Macbook của Apple cũng sẽ được tích hợp khả năng trình chiếu.
Học IT










Công nghệ
Microsoft Word 2013
Microsoft Word 2007
Microsoft Excel 2019
Microsoft Excel 2016
Microsoft PowerPoint 2019
Google Sheets
Lập trình Scratch
Bootstrap
Hướng dẫn
Ô tô, Xe máy