Ống zoom tầm trung dành do máy full-frame của Canon sẽ có thêm phiên bản chống rung, dù có thể trong tương lai không gần.

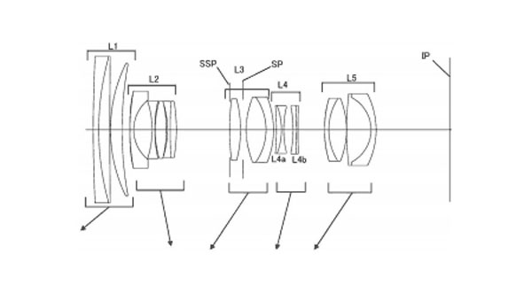
Bằng sáng chế ống kính Canon 24-70mm f/2.8L IS. (Ảnh: Egami).
Theo đó, phiên bản chống rung của ống zoom tiêu chuẩn cho máy full-frame 24-70mm sẽ có 21 thấu kính, chia làm 12 nhóm, trong đó có 2 thấu kính UD.
Thực tế, Canon có được bằng sáng chế chống rung cho ống 24-70mm f/2.8 sau Tamron, phiên bản của nhà sản xuất này hiện đã được bán với giá khoảng 1.300 USD.
Hiện Canon vẫn còn "nợ" ống kính 24-70mm f/2.8L II USM đến tháng 9 mới cho bán ra thị trường do "điều chỉnh lần cuối trong sản xuất". Vì vậy, khả năng 24-70mm f/2.8L có chống rung ra mắt trong thời gian gần là điều khó thành hiện thực.
Học IT










Công nghệ
Microsoft Word 2013
Microsoft Word 2007
Microsoft Excel 2019
Microsoft Excel 2016
Microsoft PowerPoint 2019
Google Sheets
Lập trình Scratch
Bootstrap
Hướng dẫn
Ô tô, Xe máy