Apple vừa được cấp bằng sáng chế cho công nghệ 5D mà họ gọi là "ý tưởng điên rồ và duy nhất" của riêng họ.
Văn phòng thương mại Mỹ tuần này cấp cho Apple 25 bằng sáng chế mới, trong đó gây chú ý nhất là bản quyền về giao thức kết nối giữa con người với máy tính thông qua cảm biến, màn hình cảm ứng và găng tay tương tác thực ảo.

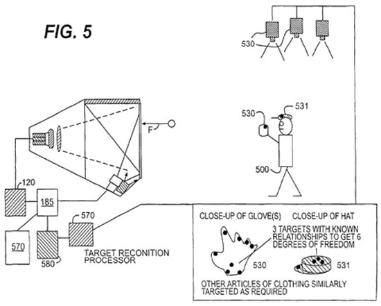
Công nghệ 5D trong hồ sơ đăng ký bản quyền của Apple.
Hãng này mô tả công nghệ 4-5 chiều sẽ mang đến khả năng chơi game tương tác, hội thảo video, nhận diện các dấu hiệu cụ thể như lòng bàn tay, khởi động xe hơi từ xa hay truyền tín hiệu đến các thiết bị khác theo cách hoàn toàn mới.
Apple khẳng định công nghệ này sẽ thay thế bàn phím. Họ cũng tin màn hình trong tương lai có thể được tạo từ bất cứ chất liệu gì và người sử dụng có thể bắn đạn vào màn hình và máy tính sẽ tính toán các viên đạn rơi ở vị trí nào, cường độ bao nhiêu... Người sử dụng cũng không cần chạm tay vào màn hình mà dùng găng tay điều khiển.
Học IT










Công nghệ
Microsoft Word 2013
Microsoft Word 2007
Microsoft Excel 2019
Microsoft Excel 2016
Microsoft PowerPoint 2019
Google Sheets
Lập trình Scratch
Bootstrap
Hướng dẫn
Ô tô, Xe máy