Apple vừa được cấp bằng sáng chế cho loại tai nghe với các thành phần liền mạch, không vết nối.

Thiết kế mới thuộc bản quyền của Apple từ 12/4/2012. (Ảnh: IDG News).
Các thiết bị iPod và iPhone sẽ được trang bị thế hệ tai nghe kiểu mới của Apple với cấu trúc liền khối.
Theo Apple Insider, Apple vừa được cấp bằng sáng chế cho loại tai nghe với các thành phần liền mạch, không vết nối. Đây là bản quyền sáng chế đầu tiên về việc sử dụng các cấu trúc siêu âm để truyền thanh.

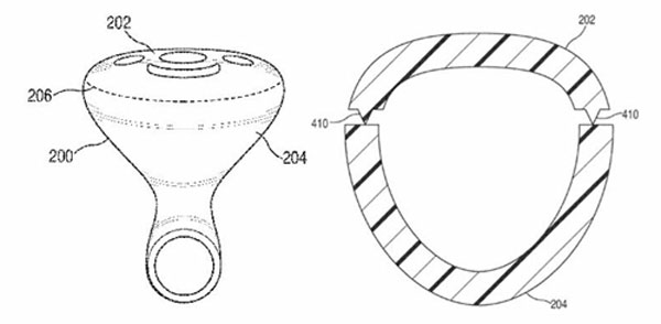
Bản vẽ thiết kế tai nghe mới của Apple. (Ảnh: IDG News).
Loại tai nghe này sẽ không bao gồm các loại ráp nối như giắc cắm, tai nghe, micro, dây nối… mà tất cả các bộ phận được đồng bộ trong một khối và không cần các ráp nối theo cách truyền thống.
Theo Apple, công nghệ sản xuất mới này sẽ loại bỏ các nhược điểm của tai nghe truyền thống. Vì tai nghe nhựa thông thường gồm các lỗ cho phép truyền sóng âm từ bên trong ra bên ngoài của tai nghe. Quá trình tạo ra các lỗ này có thể để lại các tạp phẩm xung quanh làm suy giảm tính thẩm mỹ cũng như chất lượng âm thanh của tai nghe.
Học IT










Công nghệ
Microsoft Word 2013
Microsoft Word 2007
Microsoft Excel 2019
Microsoft Excel 2016
Microsoft PowerPoint 2019
Google Sheets
Lập trình Scratch
Bootstrap
Hướng dẫn
Ô tô, Xe máy