Mới đây, Apple vừa nhận được bằng sáng chế cho kỹ thuật nấu chảy và ghép các cấu trúc bằng thủy tinh lại với nhau nhằm tạo nên một bộ vỏ nguyên khối chứa các bảng mạch và thành phần bên trong thiết bị chạy iOS của hãng.
Đồng thời, thông tin bằng sáng chế còn cho biết kỹ thuật trên cũng có thể được áp dụng cho các thiết bị có kích thước lớn hơn như màn hình máy tính hoặc TV.
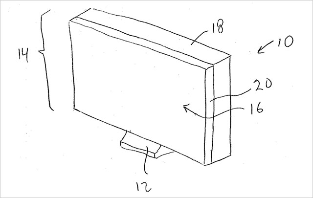
Bằng sáng chế với tên gọi đầy đủ là "Nung chảy thủy tinh tạo thành dạng hộp" diễn tả kỹ thuật cho phép tạo ra một bộ vỏ bằng thủy tinh nguyên khối, liền mạch cho các thiết bị điện tử. Trong văn bản sáng chế, nhằm khắc phục nhược điểm về trọng lượng nặng của thủy tinh, Apple đề xuất một kỹ thuật hoàn toàn mới nhằm tạo ra lớp vỏ đảm bảo độ bền và có thiết kế nhẹ, thẩm mỹ và nâng cao trải nghiệm người dùng.

Thay vì sử dụng cấu trúc hoàn toàn bằng thủy tinh, Apple đã đề xuất kỹ thuật ghép các mảnh thủy tinh với nhau ngay trong quá trình nung chảy. Theo đó, các cạnh và viền xung quanh của các mảnh được dát phẳng và nung chảy cùng nhau nhằm hình thành nên một khối vật liệu dày để dễ dàng gia công thành hình dạng mong muốn. Bên cạnh đó, các bộ phận bổ sung như phần nổi lên hoặc khung sườn bên trong sẽ được sử dụng nhằm gia cố thêm tại các vị trí yếu hoặc các điểm linh hoạt xung quanh cấu trúc như lỗ, nút,...

Trong một số trường hợp, đặc biệt là các thiết bị có kích thước lớn, 5 mặt của bộ vỏ được đúc liền với nhau trong khi màn hình và các thành phần khác sẽ được chèn hoặc trượt vào các ngàm cố định vị trí bên trong. Theo thông tin trong bằng sáng chế, lớp vỏ phần lưng của thiết bị sẽ được làm mờ hoặc nhuộm màu nhằm che đi những thành phần bên trong như pin, bảng mạch hoặc những sợi cáp. Tuy vậy, độ trong suốt của thủy tinh vẫn có thể được giữ lại toàn bộ tùy theo thiết kế của thiết bị.
Bằng sáng chế đã một lần nữa cho thấy mối quan tâm của Apple về các phương pháp sử dụng thủy tinh làm vật liệu chế tạo thiết bị. Tuy nhiên, rõ ràng đây vẫn dừng lại ở một nghiên cứu trong phòng thí nghiệm của hãng và chưa có tín hiệu gì về một sản phẩm thực tế. Dù vậy, một thiết bị bằng thủy tinh nguyên khối có thể sẽ cung cấp cho người dùng trải nghiệm khá mới mẻ nếu điều này sẽ thành hiện thực trong tương lai.
Học IT










Công nghệ
Microsoft Word 2013
Microsoft Word 2007
Microsoft Excel 2019
Microsoft Excel 2016
Microsoft PowerPoint 2019
Google Sheets
Lập trình Scratch
Bootstrap
Hướng dẫn
Ô tô, Xe máy