Bằng sáng chế độc đáo giúp tai nghe có thể trở thành thiết bị phát âm thanh linh hoạt phù hợp với từng mục đích sử dụng khác nhau.

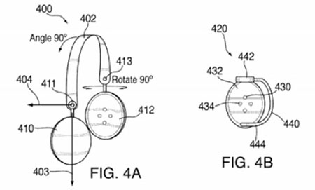
Phần củ loa có thể xoay theo nhiều hướng khác nhau.
Thiết bị tương lai của Apple có thể hoạt động theo hai chế độ: tai nghe và loa. Nếu đeo lên tai, sản phẩm có chức năng không khác gì với một chiếc tai nghe thông thường còn nếu khi đặt lên một mặt phẳng và kết nối với ampli hoăc điện thoại di động, thiết bị này sẽ trở thành một chiếc loa nhỏ thực thụ.
Theo Patently Apple, phần củ loa có thể xoay theo nhiều hướng khác nhau, tuỳ theo mục đích sử dụng của người dùng là tai nghe hay loa. Đồng thời, cảm biến gắn trên thiết bị sẽ giúp nhận diện xem liệu người dùng đang sử dụng sản phẩm theo chế độ nào để điều chỉnh âm lượng sao cho phù hợp. Ví dụ, nếu cảm biến phát hiện tai người dùng đang ở gần củ loa, thiết bị sẽ tự động giảm âm lượng.
Apple từ trước tới nay vẫn được coi là một trong các hãng đi tiên phong trong lĩnh vực công nghệ. "Quả táo" thường có những ý tưởng sáng tạo gây bất ngờ, cả tiêu cực lẫn tích cực. Một trong những bằng sáng chế gây tranh cãi nhất của hãng này phải kể đến "thiết kế máy tính bảng hình chữ nhật bo góc" khiến cho Samsung phải bồi thường 1 tỷ USD trong vụ kiện hồi tháng 8 vừa qua.
Học IT










Công nghệ
Microsoft Word 2013
Microsoft Word 2007
Microsoft Excel 2019
Microsoft Excel 2016
Microsoft PowerPoint 2019
Google Sheets
Lập trình Scratch
Bootstrap
Hướng dẫn
Ô tô, Xe máy