Thông tin về thiết bị theo dõi sức khỏe sắp ra mắt của Samsung, Galaxy Ring, đã xuất hiện nhiều lần trên internet. Cách đây không lâu, hình ảnh quảng cáo của tất cả các sản phẩm dự kiến ra mắt tại sự kiện sắp Unpacked tới đã bị rò rỉ, cho thấy Galaxy Ring cũng có thể là một phần trong đó.
Chứng nhận FCC của Galaxy Ring đã tiết lộ nhiều chi tiết về thiết bị theo dõi sức khỏe sắp ra mắt của Samsung. Đáng chú ý, mẫu nhẫn thông minh của nhà sản xuất Hàn Quốc dự kiến sẽ được ra mắt với nhiều phiên bản kích cỡ từ 5 đến 12. Các nguồn tin rò rỉ đoán rằng sẽ có pin 17mAh cho các kích cỡ 5, 6 và 7. Trong khi những phiên bản kích thước lớn hơn, bao gồm 8, 9, 10 và 11, sẽ có pin 18,5mAh. Đặc biệt, biến thể size 12 lớn nhất sẽ được trang bị viên pin 22,5mAh.
Tuy nhiên, trong khi phiên bản thương mại của mẫu Galaxy Ring thế hệ đầu tiên vẫn chưa ra mắt chính thức, một mẫu Samsung Galaxy Ring mới vừa được cấp bằng sáng chế tại Hoa Kỳ, nhiều khả năng là Galaxy Ring thế hệ thứ hai.
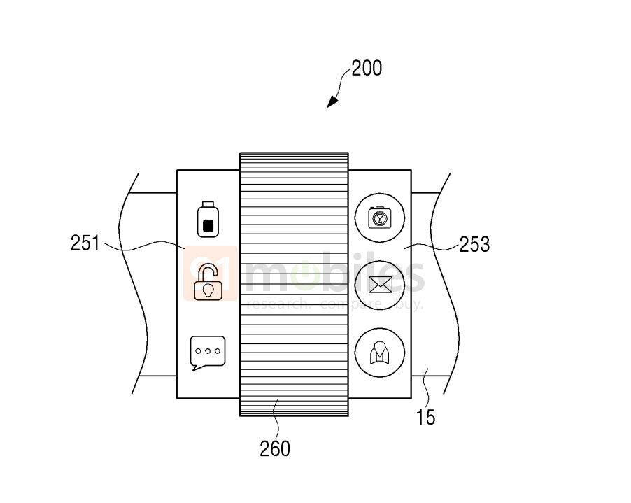
Theo báo cáo mới từ 91Mobiles, bằng sáng chế này đã được nộp vào tháng 5 năm 2024 tại Cơ quan đăng ký bằng sáng chế Hoa Kỳ, trong đó tiết lộ một số chi tiết chính về thiết kế được cho là của Galaxy Ring 2. Nội dung bằng sáng chế cho thấy một thiết bị dạng vòng tròn chứa đầy các cảm biến được đặt bên trong. Mỗi cảm biến lại thực hiện những nhiệm vụ khác nhau.
Một thay đổi lớn có thể nhận thấy trong bằng sáng chế này đó là việc phiên bản Galaxy Ring mới có lớp vỏ ngoài hơi “vuông thành sắc cạnh”. Thiết kế tổng thể của nhẫn cũng có vẻ hơi thon dài, không phải hình tròn cơ bản như thiết kế của Galaxy Ring sắp ra mắt. Không loại trừ khả năng lớp bên ngoài hình vuông có thể có chứa một màn hình AMOLED siêu nhỏ để người dùng có thể tương tác và xem nhanh các chỉ số sức khỏe.
Thông tin chi tiết vẫn chưa có nhiều, nhưng khả năng cao đây sẽ là dòng Galaxy Ring 2 mà Samsung đang ấp ủ. Bằng sáng chế cũng gợi ý rằng chiếc nhẫn có thể đi kèm với cảm biến ECG, cảm biến nhiệt độ, cảm biến gia tốc, cảm biến vân tay và một số loại cảm biến cơ bản khác.
Học IT 















Công nghệ
Microsoft Word 2013
Microsoft Word 2007
Microsoft Excel 2019
Microsoft Excel 2016
Microsoft PowerPoint 2019
Google Sheets
Lập trình Scratch
Bootstrap
Hướng dẫn
Ô tô, Xe máy