Văn phòng Bản quyền thương hiệu Mỹ (USPTO) vừa tiết lộ một bản quyền mà Apple đã đăng ký, qua đó cho thấy "nhà táo" đang tính tích hợp khả năng điều khiển bằng giọng nói Siri vào trong các dock thông minh (đế cắm) do Apple phát triển.

Hình ảnh mô tả bằng sáng chế dock thông minh
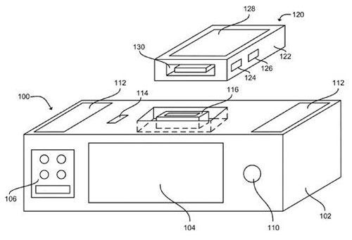
Pocket-link ngày 8.12 dẫn lại báo cáo của USPTO cho biết, thông qua hình ảnh bằng sáng chế thì có thể thấy dock thông minh của Apple có khả năng kết nối với iPhone, hỗ trợ việc nghe nhạc (có loa phát), có màn hình cảm ứng, có nút điều khiển vật lý và có cả loa micro để nhận lệnh điều khiển từ xa của người dùng.
Đặc biệt, loại dock thông minh này sẽ được tích hợp cả công nghệ điều khiển bằng giọng nói Siri, để người dùng thực hiện việc ra lệnh điều khiển iPhone từ xa hoặc kiểm soát được hoạt động ngôi nhà (theo dạng mô hình ngôi nhà thông minh).
Tất nhiên, để kiểm soát được hoạt động ngôi nhà thì các đồ vật trong ngôi nhà phải tương tác được với dock thông minh của Apple, kèm theo đó là phải phát triển thêm các phần mềm quản lý. Tuy nhiên, với bằng sáng chế của Apple vừa được công bố thì tương lai của công nghệ quản lý điều khiển bằng giọng nói sẽ còn tiến xa hơn nữa.
Học IT










Công nghệ
Microsoft Word 2013
Microsoft Word 2007
Microsoft Excel 2019
Microsoft Excel 2016
Microsoft PowerPoint 2019
Google Sheets
Lập trình Scratch
Bootstrap
Hướng dẫn
Ô tô, Xe máy