Gần đây đã xuất hiện khá nhiều nguồn tin về việc Nokia sẽ tiến hành sản xuất tablet. Tuy nhiên, sự thực thì có vẻ hãng điện thoại Phần Lan đã ấp ủ ý tưởng này từ rất lâu rồi. Mới đây, một hồ sơ về bằng sáng chế từ tháng 10/2011 của Nokia đã được hé lộ với thiết kế của một chiếc tablet khá ấn tượng.


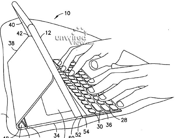
Hình ảnh được trích từ hồ sơ sáng chế về thiết kế mẫu của tablet.
Mẫu thiết kế tablet trong hồ sơ sáng chế của Nokia đi kèm bàn phím vật lý và kickstand chống phía sau lưng. Khi người dùng đóng lại, 2 phụ kiện này sẽ bọc lấy tablet giống như một cuốn sổ vậy. Đáng chú ý ở chỗ bằng sáng chế này của Nokia được trình duyệt vài tháng trước khi tablet Microsoft Surface được công bố.
Mới đây, CEO của Nokia là Stephen Elop đã ám chỉ rằng hãng có thể sẽ sản xuất máy tính bảng và không ngại cạnh tranh với chính Microsoft. Tuy nhiên, Nokia sẽ xem xét kỹ lưỡng những bài học đúc kết được từ Surface và thời điểm tablet Nokia ra mắt vẫn còn là một ẩn số lớn.
Học IT










Công nghệ
Microsoft Word 2013
Microsoft Word 2007
Microsoft Excel 2019
Microsoft Excel 2016
Microsoft PowerPoint 2019
Google Sheets
Lập trình Scratch
Bootstrap
Hướng dẫn
Ô tô, Xe máy