Sạc không dây chỉ là tính năng mới xuất hiện và hỗ trợ trên những smartphone cực cao cấp vậy nên Apple cũng không muốn iPhone của mình thiếu đi tính năng này. Bởi thế mà, mới đây, Táo Khuyết đã đệ đơn xin cấp bằng sáng chế với cái tên rất dài "năng lượng không dây tối ưu cho môi trường điện toán cục bộ".
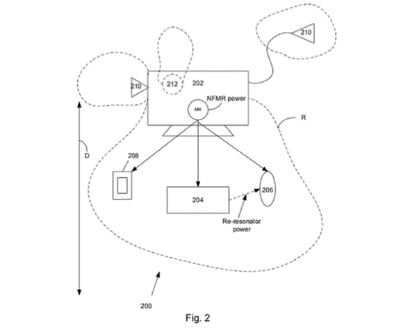
Thực chất đây là hệ thống sạc không dây mà Apple dự định sẽ trang bị cho các sản phẩm của mình dựa trên cộng hưởng từ trường gần. Cộng hưởng từ trường gần sẽ tạo ra một vùng không gian có thể sạc điện cho bất kỳ thiết bị nào được trang bị mạch cộng hưởng nằm trong vùng không gian này. Đó có thể là smartphone, laptop, máy tính bảng hay đồ chơi của trẻ em. Điều đó cho thấy rằng bằng sáng chế của Apple có thể được ứng dụng rất rộng.

Về cơ bản, hệ thống sạc không dây của Apple có nhiều cải tiến hơn khi mà không cần phải đặt điện thoại hay máy tính bảng lên một thiết bị khác để có thể sạc được. Tuy nhiên cách sạc bằng cộng hưởng từ như thế này có thể ảnh hưởng tới một số thiết bị khác chẳng hạn như ổ cứng máy tính. Hoặc cách sạc không dây này cũng có thể làm những thông tin trên thẻ từ của bạn bị mất. Tuy vậy thì chắc hẳn là quả táo cắn dở sẽ có những phương cách để công nghệ này có thể được ứng dụng mà không gây ảnh hưởng nhiều tới các thiết bị khác.

Chưa có những thông tin rõ ràng về thời điểm Apple sẽ ứng dụng công nghệ này trên các sản phẩm của mình nhưng nếu sạc không dây được ứng dụng trên iPhone 6 thì đó sẽ là một thông tin không thể vui hơn với những tín đồ của Táo Khuyết.
Học IT










Công nghệ
Microsoft Word 2013
Microsoft Word 2007
Microsoft Excel 2019
Microsoft Excel 2016
Microsoft PowerPoint 2019
Google Sheets
Lập trình Scratch
Bootstrap
Hướng dẫn
Ô tô, Xe máy